Автоматизация холодильных установок
Автоматизация производственных процессов является важнейшим условием технического прогресса любой отрасли промышленности.
Цель автоматизации холодильных установок — замена ручного труда, точное поддержание заданных параметров, предотвращение аварий, увеличение срока службы оборудования, сокращение затрат, повышение культуры производства.
Эксплуатация автоматизированных холодильных установок обходится дешевле, так как отпадает необходимость в части обслуживающего персонала, занятого ручными операциями по пуску, регулированию и остановке холодильного оборудования, визуальному наблюдению за работой машин и аппаратов.
Устройства автоматизации могут выполнять как отдельные операции: контроль, сигнализация, включение и выключение исполнительных механизмов, так и совокупность этих операций: автоматическая защита и регулирование.
Любая операция, осуществляемая машинистом современных холодильных установок, поддается автоматизации. Однако не все операции целесообразно автоматизировать.
Автоматизация процессов регулирования и защиты необходима в тех случаях, когда эти процессы требуют затрат ручного труда и когда машинист не может обеспечить точное регулирование и надежную защиту. Очень важно также автоматизировать работы во вредных и взрывоопасных помещениях.
Абсорбционные и пароэжекторные холодильные машины ввиду отсутствия движущихся механизмов (кроме насосов) легче поддаются полной автоматизации, чем крупные компрессионные, которые требуют непрерывного наблюдения и квалифицированного обслуживания.
Крупные и средние холодильные установки снабжают частичной автоматизацией, при которой автоматически регулируется лишь часть процессов. Чаще такие холодильные установки работают на полуавтоматическом режиме, при котором остановка машины происходит автоматически, а пуск вручную.
Основными частями любой автоматической системы являются: измерительный (чувствительный) элемент, или датчик, воспринимающий изменение регулируемой величины; регулирующий орган, изменяющий по сигналу измерительного элемента подачу вещества или энергии в регулируемый объект, и передаточное устройство, соединяющее датчик с исполнительным механизмом. Измерительный элемент снабжен обычно приспособлением для настройки на заданное значение регулируемой величины.
Приборы автоматического управления должны включать или выключать компрессоры и насосы при изменениях нагрузки. Компрессорами управляют с помощью реле температуры, останавливающих компрессоры при понижении температуры рассола или давления в испарителях ниже заданного предела и включающих их при повышении температуры в испарителе. Иногда холодильные машины включают с помощью реле времени, которому задают время включения компрессора.
Приборы автоматического регулирования предназначены для поддержания заданных параметров работы холодильной установки: температуры, давления, уровня. Благодаря плавному регулированию холодопроизводительности можно поддерживать заданную температуру хладоносителя при понижении тепловой нагрузки. Достигается оно следующими путями:
установкой регуляторов давления «до себя», поддерживающих постоянное давление в испарителях и дросселирующих пары перед компрессором;
установкой регуляторов давления «после себя», перепускающих часть паров из нагнетательной линии во всасывающую. За счет этого часть паров, которая могла бы поступить в компрессор из испарителя, отсекается и холодопроизводительность установки падает;
подключением дополнительного вредного пространства в поршневом компрессоре, уменьшающего отсос паров хладагента из испарителя.
Регулирование подачи хладагента в испаритель преследует две цели: обеспечение безопасной работы компрессора, путем защиты его от гидравлического удара и уменьшение или увеличение холодопроизводительности установки.
Автоматическая сигнализация оповещает о изменениях режима, которые могут повлечь за собой срабатывание элементов автоматической защиты, и извещает о включении и выключении машин, магнитных вентилей, задвижек и приборов. Примером сигнального прибора служит дистанционный указатель уровня ДУ, соединяемый с исполнительными механизмами — соленоидными вентилями или звуковыми сигнальными устройствами — ревунами.
Автоматическая защита позволяет избегать опасных для холодильной машины последствий чрезмерного повышения давления нагнетания, понижения давления и температуры испарения, нарушений режима работы смазочных устройств и т. д.
Для защиты установок от аварийного режима в схемах автоматизации предусматривают приборы, отключающие холодильные агрегаты при резких нарушениях режима работы.
Вынос вторичных показаний приборов контроля и измерения (термометров, манометров, расходомеров, указателей уровня) на центральный щит, где расположена и регулирующая станция, позволяет управлять работой холодильной установки централизованно. Часть измерений записывают самопишущие приборы (термометры, манометры).
Комплексная автоматизация холодильной установки состоит в оснащении ее устройствами автоматического управления, регулирования и защиты, а также средствами контроля и сигнализации, обеспечивающими исправную работу этих устройств.
Контрольные вопросы
1. Что дает автоматизация холодильных установок?
2. Назовите основные элементы автоматизации.
3. Из каких элементов состоит система автоматического регулирования?
4. Расскажите об устройстве ТРВ,
170
5. Объясните конструкцию и принцип работы соленоидного вентиля.
6. Как работают мембранные пневматические клапаны?
7. Назовите способы регулирования холодопроизводительности.
8. Расскажите о работе реле давления.
9. Расскажите об устройстве РУКЦ.
10. Что вы знаете о водорегулирующем вентиле?
11. Перечислите способы защиты компрессора от опасности гидравлического удара.
12. Объясните устройство и принцип работы дистанционного указателя уровня.
13. Какие виды автоматической сигнализации вы знаете?
14. Проследите работу приборов автоматизации в схеме двухступенчатой холодильной установки.
15. Расскажите об особенностях автоматизации холодильных турбоагрегатов.
16. Расскажите о схемах автоматизации отдельных узлов аммиачных холодильных установок.
www.stroitelstvo-new.ru
Автоматизация холодильной установки
СОДЕРЖАНИЕ
Введение……………………………………………………………………………..
1 Описание технологического процесса ………………………………………………
1.1 Автоматизация холодильных компрессорных станций………………………….
1.2 Анализ возмущающих воздействий объекта автоматизации……………………
1.3 Схема холодильного цикла………………………………………………………..
2 Разработка функциональной схемы холодильной установки…………………….
2.1 Методика разработки схемы………………………………………………………
2.2 Функциональная схема автоматизации холодильного модуля……………….. .
2.3 Работа узлов функциональной схемы автоматизации холодильного модуля….
2.3.1 Узел автоматической защиты компрессоров…………………………………..
2.3.2 Узел автоматического включения резервного водяного насоса………………
2.3.3 Узел оттаивания воздухоохладителей…………………………………………..
3 Выбор технических средств холодильной установки………………………………….3.1 Выбор и обоснование выбора приборов и средств автоматизации……………..
Заключение……………………………………………………………………………
Список литературы……………………………………………………………………
ВВЕДЕНИЕ
Автоматизированные системы управления и регулирования являются неотъемлемой частью технологического оснащения современного производства, способствуют повышению и качества продукции и улучшают экономические показатели производства за счет выбора и поддержания оптимальных технологических режимов.
Автоматизация освобождает человека от необходимости непосредственного управления механизмами. В автоматизированном процессе производства роль человека сводится к наладке, регулировке, обслуживании средств автоматизации и наблюдению за их действием. Если автоматизация облегчает физический труд человека, то автоматизация имеет цель облегчить так же и умственный труд. Эксплуатация средств автоматизации требует от обслуживающего персонала высокой техники квалификации.
По уровню автоматизации компрессорные холодильные установки занимает одно из ведущих мест среди других отраслей промышленности. Холодильные установки характеризуются непрерывностью протекающих в них процессов. При этом выработка холода в любой момент времени должна соответствовать потреблению (нагрузке). Почти все операции на холодильных установках механизированы, а переходные процессы в них развиваются сравнительно быстро. Этим объясняется высокое развитие автоматизации в охладительной технике.
Автоматизация параметров дает значительные преимущества:
– обеспечивает уменьшение численности рабочего персонала, т. е. повышение производительности его труда,
– приводит к изменению характера труда обслуживающего персонала,
– увеличивает точность поддержания параметров вырабатываемого холода,
– повышает безопасность труда и надежность работы оборудования,
устройства управления
Цель автоматизации холодильных машин и установок – это повышения экономической эффективности их работы и обеспечение безопасности людей (в первую очередь обслуживающего персонала).
Экономическая эффективность работы холодильной машины обеспечивается уменьшением эксплуатационных расходов и сокращением затрат на ремонт оборудования.
Автоматизация уменьшает количество обслуживающего персонала и обеспечивает работу машины в оптимальном режиме.
Безопасность работы холодильного оборудования обеспечивается применением автоматических устройств, защищающих оборудование от опасных режимов работы.
По степени автоматизации холодильные машины и установки делятся на 3 группы:
1 Холодильное оборудование с ручным управлением.
2 Частично автоматизированное холодильное оборудование.
3 Полностью автоматизированное холодильное оборудование.
Оборудование с ручным управлением и частично автоматизированные машины работают с постоянным присутствием обслуживающего персонала.
Полностью автоматизированное оборудование не требует постоянного присутствия обслуживающего персонала, но не исключает необходимости периодических контрольных осмотров и проверок по установленному регламенту.
Автоматизированная холодильная установка должна содержать одну или несколько систем автоматизации, каждая из которых выполняет определенные функции. Кроме того, существуют устройства объединяющие (синхронизирующие) работу этих систем.
Система автоматизации – это совокупность объекта автоматизации и автоматических устройств, позволяющих управлять работой автоматизации без участия обслуживающего персонала.
Объектом курсового проекта является холодильная установка в комплексе, отдельные ее элементы.
Целью данного курсового проекта является описание технологического процесса холодильного оборудования, разработка функциональной схемы данной установки и выбор технических средств автоматизации.
1 ОПИСАНИЕ ТЕХНОЛОГИЧЕСКОГО ПРОЦЕССА
1.1 Автоматизация холодильных компрессорных станций
Искусственный холод находит широкое применение в пищевой промышленности, в частности при консервировании скоропортящихся продуктов. При охлаждении обеспечивается высокое качество хранимых и выпускаемых продуктов.
Искусственное охлаждение может осуществляться периодически и непрерывно. Периодическое охлаждение происходит при плавлении льда либо при сублимации твердого диоксида углерода (сухого льда). Этот способ охлаждения обладает большим недостатком, так как в процессе плавления и сублимации хладагент теряет свои охлаждающие свойства; при длительном хранении продуктов трудно обеспечить определенную температуру и влажность воздуха в холодильной камере.
В пищевой промышленности широко распространено непрерывное охлаждение с применением холодильных установок, где хладагент — сжиженный газ (аммиак, фреон и др.) — совершает круговой процесс, при котором он после осуществления холодильного эффекта восстанавливает свое первоначальное состояние.
Применяемые хладагенты кипят при определенном давлении, зависящем от температуры. Следовательно, изменяя давление в сосуде, можно изменять температуру хладагента, а следовательно, и температуру в холодильной камере. Компрессор / всасывает пары аммиака из испарителя II, сжимает их и через маслоотделитель III нагнетает в конденсатор IV. В конденсаторе пары аммиака конденсируются за счет охлаждающей воды, и жидкий аммиак из конденсатора, охлажденный в линейном ресивере V, через регулирующий вентиль VI поступает в испаритель II, где, испаряясь, охлаждает промежуточный хладоно-ситель (рассол, ледяную воду), нагнетаемый к потребителям холода насосом VII.
Регулирующий вентиль VI служит для дросселирования жидкого аммиака, температура которого при этом снижается. Система автоматизации предусматривает автоматическое управление работой компрессора и противоаварийные защиты. Командой на автоматический пуск компрессора служит повышение температуры рассола (ледяной воды) на выходе из испарителя. Для управления температурой используется регулятор температуры типа, датчик которого устанавливается на трубопроводе выхода рассола (ледяной воды)
из испарителя.
При работе компрессора в автоматическом режиме функционируют следующие противоаварийные защиты: от понижения разности давлений масла в системе смазки и картере – применяется датчик-реле разности давлений ; от понижения давления всасывания и повышения давления нагнетания – применяется датчик-реле давления; от повышения температуры нагнетания – применяется датчик-реле температуры; от отсутствия протока воды через охлаждающие рубашки – применяется реле протока; от аварийного повышения уровня жидкого аммиака в испарителе — применяется полупроводниковое реле уровня.
При пуске компрессора в автоматическом режиме открывается вентиль с электромагнитным приводом на подаче воды в охлаждающие рубашки и закрывается вентиль на байпасе.
Автоматическое регулирование уровня жидкого аммиака в испарителе осуществляется полупроводниковыми реле уровня, управляющим вентилем с электромагнитным приводом, установленным на подаче жидкого аммиака в испаритель.
Контроль верхнего и нижнего уровней жидкого аммиака в линейном ресивере осуществляется полупроводниковыми реле уровня.
Контроль давления рассола в нагнетательном трубопроводе осуществляется датчиком-реле давления.
Дистанционный контроль температуры воздуха, аммиака, рассола, воды в контрольных точках холодильной установки осуществляется термопреобразователями.
Аппаратура контроля, управления и сигнализации остального технологического оборудования размещена в панелях щита управления.
1.2 Анализ возмущающих воздействий объекта автоматизации
В данной схеме предусмотрены контроль, регулирование, управления и сигнализация параметров технологического процесса.
Контроль верхнего и нижнего уровней жидкого аммиака в линейном ресивере, в котором контролируется уровень от которого зависит наполнение ресивера.
Также контролю подлежит температура воздуха в холодильной установке от которой зависит охлаждение и количество вырабатываемого холода.
Контроль давления холодного рассола в нагнетательном трубопроводе, который зависит от нагнетания насосом, насос воздействуя на холодный рассол изменяет его подачу.
Также контролируется температура холодной воды поступающей из бассейна в конденсатор которая необходима для конденсирования (охлаждения) паров аммиака.
На выходе из конденсатора контролируется температура жидкого аммиака, который поступает в линейный ресивер.
Регулирующий вентиль VI установленный на трубопроводе служит для дросселирования жидкого аммиака, за счет чего температура при этом снижается.
Повышение температура рассола (ледяной воды) на выходе из испарителя управляет работой компрессора и служит командой на автоматический пуск компрессора.
mirznanii.com
Автоматизация холодильных установок
Холодильная автоматика или автоматизация – совокупность технических средств и методов, освобождающих человека от непосредственного выполнения функций управления холодильными установками.
Автоматизация работы холодильных установок является одним из главных элементов повышения эффективности использования оборудования и производительности труда при минимальных эксплуатационных затратах. Автоматическое управление холодильными установками осуществляется специальными приборами, которые регулируют поступление хладагента и теплоносителя, пуск и остановку компрессора, а также равномерность температуры в охлаждаемых помещениях. Эти приборы предохраняют холодильную установку от аварии.
Экономическая эффективность применения автоматизации определяется сокращением эксплуатационных расходов в результате того, что количество обслуживающего персонала и непроизводительные затраты на электрическую энергию и охлаждающую воду уменьшаются. Автоматизация обеспечивает работу холодильной установки в наиболее экономичном режиме. Срок службы автоматизированных установок увеличивается, так как улучшаются условия их работы. Переход на автоматическую работу позволяет регулировать холодопроизводительность установок с высокой точностью, недоступной при ручном регулировании. Поддержание определенной температуры и влажности воздуха в охлажденных помещениях позволяет сохранить высокое качество продуктов.
При автоматическом регулировании работы установки функции обслуживающего персонала сводятся к периодическому осмотру и ремонту холодильных машин, проверке и настройке приборов автоматики при изменении температурного режима и к устранению мелких неисправностей. Малые фреоновые холодильные машины проверяют один раз в несколько месяцев, полностью автоматизированные аммиачные установки торгового типа – через несколько дней; аммиачные установки распределительных холодильников работают под наблюдением только днем. В транспортных условиях для полной сохранности грузов работу автоматизированной холодильной установки необходимо проверять один раз в сутки, то есть при техническом осмотре энергохолодильного оборудования вагона.
Основные задачи автоматизации в холодильной технике сводятся к устройству автоматической защиты машин, автоматическому управлению работой установок и регулированию процессов получения искусственного холода.
vse-lekcii.ru
MirMarine – Автоматизация холодильных установок
Автоматизация холодильных установок обеспечивает более точное поддержание требуемых температур в охлаждаемых помещениях, защиту установок от аварий, увеличивает срок службы механизмов и позволяет сократить обслуживающий персонал до минимума.
Приборы автоматики выполняют следующую роль в судовых холодильных установках:
- регулируют подачу хладагента в испарители;
- регулируют движение жидкого хладагента, рассола и воды;
- осуществляют пуск и остановку компрессора и других механизмов;
- поддерживают заданные температуры в охлаждаемых помещениях и сигнализируют о нарушении нормального режима работы установки;
При изменении теплопритоков в охлаждаемое помещение холодопроизводительность установки автоматически должна изменяться. Например, при уменьшении теплопритоков для поддержания постоянного температурного режима в помещениях холодопроизводительность компрессоров должна быть уменьшена. В настоящее время для изменения холодопроизводительности применяют два вида регулирования — плавное и позиционное.
Плавное регулирование холодопроизводительности компрессоров осуществляется следующими способами:
- изменением числа оборотов;
- дросселированием всасываемого пара с помощью регулятора давления, установленного на всасывающей линии;
- перепуском части сжатого пара (перегретого или сухого насыщенного из конденсатора) из нагнетательной полости во всасывающую с помощью регулятора давления или впрыском жидкого хладагента во всасывающую полость.
Позиционное регулирование осуществляется:
- изменением числа работающих компрессоров, числа работающих цилиндров, изменением числа оборотов и чаще всего путем периодичного пуска и остановки компрессоров с помощью прессостатов или термостатов.
Прессостаты и термостаты являются двухпозиционными регуляторами (одна позиция — «включено», другая — «выключено») и имеют диапазон регулирования и дифференциал регулятора.
Диапазон регулирования — это интервал температур или давлений, в котором данный прибор может быть применен. Так, например, при диапазоне прессостата от 550 мм рт. ст. до 3,8 кГ/см2 пригодность прибора для размыкания электрической цепи находится в интервале этих давлений.
Дифференциал регулятора — это зона нечувствительности прибора; разность между давлениями (температурами) замыкания и размыкания контактов. Например, дифференциал прессостата от 0,5 до 1,5 кГ/см2 означает, что разность между давлениями замыкания и размыкания контактов может составлять от 0,5 до 1,5 кГ/см2.
Устройство и принцип действий основных приборов автоматики.
Терморегулирующий вентиль (ТРВ) предназначен для автоматического регулирования подачи хладагента в испаритель в зависимости от степени перегрева паров, всасываемых компрессором. Он устанавливается перед испарителем и состоит из корпуса с регулирующим устройством и силовой части.
Регулирующее устройство состоит из узла иглы и узла регулировки с сальниковым уплотнением, пружины и регулировочного винта.
Силовая часть представляет собой герметически закрытую систему, состоящую из термопатрона, соединительной капиллярной трубки и мембраны, припаянных к штампованному корпусу. Силовая часть заполнена определенным количеством легкоиспаряющейся жидкости (Ф-12 или Ф-22), в зависимости от хладагента установки.
Термопатрон силовой части прикрепляется к трубопроводу после испарителя и изолируется.
Корпус для фреоновых ТРВ делают из латуни, а аммиачных—из стали. В разделяющую перегородку корпуса ввернуто седло с калиброванным отверстием.
Между силовой и регулирующей частями расположены толкатели, которые передают усилие от упора мембраны к узлу иглы.
Мембрана для фреоновых вентилей изготавливается из бериллиевой или фосфористой бронзы, а для аммиачных — из нержавеющей стали.
Работа ТРВ заключается в следующем: жидкий хладагент под давлением конденсации поступает к вентилю, а выходит под давлением испарения, значительно меньшим за счет дросселирования жидкого хладагента в калиброванном отверстии с игольчатым клапаном.
Во время дросселирования часть жидкого хладагента испаряется, охлаждается и в виде парожидкостной смеси поступает в испаритель, где по мере продвижения ее по змеевикам превращается полностью в пар, отнимая тепло от охлаждаемой камеры.
Регулирование заполнения испарителя производится так, чтобы обеспечить смачивание поверхностей труб возможно большим количеством жидкости, но при этом жидкий хладагент не должен выходить из испарителя. При правильной регулировке ТРВ из испарителя должны выходить пары хладагента, перегретые на несколько градусов. Перегрев пара в испарителе определяется как разность температуры паров хладагента на выходе из испарителя и температуры кипения хладагента на входе в испаритель. Регулируемой величиной ТРВ, следовательно, является перегрев пара, выходящего из испарителя.
На рис. 133,б дан разрез наиболее распространенного мембранного ТРВ-2М отечественной конструкции.
При повышении температуры паров, выходящих из испарителя, возрастает температура и давление в термопатроне, которое прогибает мембрану 24 и через толкатели 25, сжимая пружину 3, смещает игольчатый клапан 27 вниз, увеличивая пропуск хладагента через дроссельное отверстие.

При понижении температуры выходящих паров из испарителя давление в силовой части ТРВ уменьшается и игольчатый клапан закрывается, уменьшая пропуск хладагента в испаритель.
Необходимый перегрев всасываемых паров хладагента устанавливают сжатием или ослаблением пружины 3, регулировочным винтом 7, уменьшая или увеличивая наполнение испарителя парожидкостной смесью хладагента. При ослаблении пружины регулируемый перегрев уменьшается, а при сжатии увеличивается. Пределы настройки от 2 до 10° С.
Реле давления (прессостат и маноконтроллер) служит для поддержания давления в испарителе в заданных пределах и выключения компрессора при чрезмерном повышении давления в конденсаторе.
На рис. 128,6 показана схема включения реле давления, а на рис. 133, а — его принципиальная схема. Чувствительными элементами являются два сильфона, воздействующие через рычажные механизмы на общий электроконтакт. С увеличением давления в испарителе сильфон низкого давления прессостата сжимается, замыкает контакт через рычажный механизм, преодолевая сопротивление пружины, пуская двигатель компрессора в ход. Когда в испарителе устанавливается заданное давление, прессостат выключает двигатель.
При повышении давления нагнетания сильфон высокого давления маноконтроллера 36 сжимается и при помощи рычажного механизма 11 и кулачка 17 размыкает контакт 8, останавливая компрессор. При падении давления на 2,5 кГ/см2 маноконтроллер включает мотор компрессора.
Давление всасывания, при котором выключается компрессор, устанавливают винтом диапазона прессостата 7, а время стоянки компрессора — винтом дифференциала 35.
Максимальное давление выключения компрессора устанавливают сжатием пружины 34 гайкой 4 маноконтроллера.
Термостат или реле температуры предназначен поддерживать постоянными необходимые температуры в охлаждаемых помещениях. Он управляет включением и выключением компрессоров и соленоидных вентилей.
Принципиальная схема термостата показана на рис. 133, в. При повышении температуры в камере увеличивается температура и давление в термопатроне 12, заполненном легкоиспаряющейся жидкостью и установленном в камере. Это давление сжимает сильфон 1, поворачивает при помощи штока 14 рычаг 15 против часовой стрелки и контактную пластину 10 вокруг оси 16, замыкая контакты 8 и производя пуск компрессора и открытие соленоидных вентилей.
При понижении температуры в камере давление паров в термопатроне 12 понижается, сильфон расширяется и рычаг 15 пружиной 3 поворачивается по часовой стрелке, смещая контактную пластину 10, размыкая контакты и останавливая компрессор.
Настройка на необходимую температуру в охлаждаемом помещении производится изменением натяжения пружины 3, вращением винта диапазона 7 до тех пор, пока каретка 21 с указателем 22 не займет необходимого положения на температурной шкале 19. Для изменения разности между температурой замыкания и размыкания необходимо повернуть кулачок дифференциала 17, сидящий на оси 16.
Соленоидный вентиль или электромагнитный клапан (рис. 133, г) применяется в установках всех типов при полной или частичной автоматизации. Он используется для регулирования заполнения хладагентом испарителей, холодопроизводительности, температуры, в холодильных камерах и для открытия и закрытия трубопроводов хладагента, воды, рассола и т. д.
При прохождении тока через катушку 31, сердечник 32 втягивается и клапан 33 открывается. При обесточивании катушки сердечник закрывает клапан под действием собственного веса.
Водорегулирующий вентиль устанавливается в системе охлаждения конденсатора и служит для поддержания постоянной температуры и давления конденсации путем изменения расхода забортной воды, проходящей через конденсатор. На рис. 134 показан разрез мембранного водорегулирующего вентиля типа ИВР-1,5, выпускаемого московским заводом «Искра».

Пары хладагента из верхней части конденсатора подводятся к штуцеру 18 и взаимодействуют на мембрану 3, которая через силовую систему изменяет величину открытия клапана 12. При повышении давления в конденсаторе величина открытия водорегулирующего вентиля увеливается, а при понижении давления — уменьшается.
Изменение настройки водорегулирующего вентиля производится винтом 16, изменяя натяг пружины 13. Масляный затвор и сальник 7 обеспечивает герметичность системы при поломке мембраны. Практика эксплуатации судовых холодильных установок показывает, что водорегулирующие вентили особенно необходимы при плавании в районах с низкой температурой забортной воды.
Похожие статьи
mirmarine.net
Автоматизация холодильных машин
1. Системы автоматического регулирования
2. Регулирование температуры в охлаждаемом объекте
3. Регулирование давления хладагента
4. Реле контроля смазки
5. Регулирование холодопроизводительности
6. Регулирование давления конденсации
7. Регуляторы давления испарения.
8. Регуляторы производительности.
9. Пусковые регуляторы.
10. Соленоидные вентили и клапаны обратимости цикла
11. Автоматическое оттаивание испарителей.
12. Микропроцессорные приборы управления для холодильных установок.
13. Схемы автоматизации торгового холодильного оборудования.
1. Системы автоматического регулирования
Для обеспечения нормальной работы холодильной установки необходимо поддерживать в определенных пределах или регулировать в соответствии с заданной программой значения целого ряда физических величин или параметров, основными из которых являются:
1. Температура в охлаждаемом объеме.
2. Оптимальное заполнение испарителя хладагентом.
3. Давления кипения и конденсации хладагента.
4. Производительность компрессора.
Автоматическое регулирование холодильной машины позволяет обеспечить точность поддержания заданных параметров. В результате поддержания оптимального режима эксплуатации холодильного оборудования сокращаются потери пищевых продуктов в холодильной камере, сохраняется их качество, снижаются эксплуатационные затраты, увеличивается срок службы холодильных установок.
Автоматизация процессов регулирования, защиты и сигнализации. Автоматизация холодильной установки включает автоматизацию процессов сигнализации, защиты и регулирования.
Регулирование — это процесс поддержания значения параметра (температуры, давления и т.п.), называемого регулируемым, постоянным либо в заданных пределах. Процесс поддержания постоянной температуры в охлаждаемом помещении называется регулированием температуры. Соответственно сама температура будет регулируемым параметром. Система автоматического регулирования обеспечивает поддержание регулируемого параметра (температуры, давления или уровня) в заданных пределах.
Она включает в себя объект регулирования, автоматический регулятор, регулирующий орган, а также связи между ними (рис. 12.1).

Рис. 12.1. Структурная схема системы автоматического регулирования
Объект регулирования — это помещение, емкость, система или механизм, в которых регулируется протекающий процесс, т.е. поддерживается постоянное значение регулируемого параметра. Так, при регулировании температуры в охлаждаемом помещении объектом регулирования будет само помещение.
Автоматический регулятор – контролирует заданный процесс в объекте регулирования и управляет работой регулирующего органа в соответствии с задачей регулирования.
Регулирующий орган (клапан, механизм) служит для изменения расхода вещества (хладагента, воздуха, рассола), подводимого к объекту регулирования.
Система автоматического регулирования работает следующим образом. Автоматический регулятор постоянно замеряет значение регулируемого параметра и сравнивает его с заданным. При отклонении регулируемого параметра от заданного значения автоматический регулятор через регулирующий орган изменяет расход подводимого вещества таким образом, чтобы регулируемый параметр вернулся в исходное состояние. Например, увеличение тепловой нагрузки в охлаждаемом помещении вызовет в нем рост температуры. Автоматический регулятор, определив значение и знак отклонения регулируемой температуры от заданной, даст управляющий сигнал на регулирующий орган. Он увеличивает отвод теплоты из помещения, и его температура вернется к заданному значению.
Системы автоматической защиты – устраняют возможность аварий при внезапном изменении режима работы агрегата. При достижении предельного значения контролируемого параметра автоматический регулятор через регулирующий орган либо выключает контролируемый агрегат, либо ограничивает рост параметра во избежание разрушения механизма.
Системы автоматической сигнализации в зависимости от назначения делятся на две группы:
1. Системы аварийно-предупредительной сигнализации.
2. Системы сигнализации работающих механизмов.
Система аварийно-предупредительной сигнализации – при достижении контролируемым параметром предельного значения выдает световой или звуковой сигнал. Обслуживающий персонал изменяет опасный режим работы механизма, воздействуя на регулирующий орган.
Система сигнализации работающих механизмов – дает световую индикацию на пульте управления о включении в работу наиболее важных механизмов.
Приборы автоматического регулирования и контроля процессов, протекающих при работе холодильной установки, предназначены для обеспечения безопасной эксплуатации установки и повышения эффективности ее работы. Экономичность эксплуатации повышается главным образом за счет уменьшения затрат труда на обслуживание холодильной установки и повышения производительности труда персонала. Использование приборов автоматики и защиты позволяет решить главную задачу — поддержание заданной температуры охлаждаемого объекта. К задачам автоматизации процессов установки относят также поддержание определенного уровня жидкого хладагента в аппаратах и постоянной температуры конденсации; обеспечение защиты от гидравлического удара, перегрева отдельных частей установки, взрыва аппаратов, замерзания хладоносителя, срыва работы насоса.
Задачей обслуживающего персонала является грамотное техническое обслуживание приборов, входящих в состав схемы, и периодическая проверка их исправности: защитных реле уровня — один раз в 10 дней, других приборов автоматики — один раз в месяц. Среди приборов автоматики наибольшее применение находят реле температуры, давления и разности давлений, регуляторы уровня и реле уровня с исполнительными механизмами, терморегулирующие вентили, реле протока и расхода. Настройка этих приборов, как правило, производится при пусконаладочных работах. Современные торговые хладоновые холодильные машины оснащены рядом приборов, полностью или частично автоматизирующих рабочие процессы. Применяются различные схемы автоматизации. При полной автоматизации отпадает необходимость в систематическом контроле за работой холодильной машины, и обслуживающий персонал осуществляет лишь периодическое наблюдение, проверяя исправность оборудования и устраняя возникшие технические неполадки.
Широко используемые в торговле хладоновые холодильные машины с непосредственной системой охлаждения, как правило, полностью автоматизированы.
Применение средств автоматизации делает работу холодильных машин более производительной, экономически выгодной и безопасной.
studfiles.net
Системы автоматизации холодильных машин
Система автоматизации представляет собой последовательное объединение при помощи трубопроводов всех элементов холодильной установки, обеспечивающее точное поддержание заданной температуры охлаждения, непрерывный контроль и защиту машины от аварий, а также надежность эксплуатации холодильного оборудования. В системе должна быть предусмотрена возможность простой регулировки температуры и экономичной эксплуатации установки. Схему системы автоматизации выбирают в зависимости от холодопроизводительности и назначения установки.
Применяют системы автоматизации холодильных машин с регулированием производительности посредством отжатия электромагнитных клапанов, а также включения и выключения холодильных агрегатов. На транспорте наиболее распространены системы автоматики, устроенные по второму принципу.
Устройство системы автоматического регулирования фреоновой машины обусловливается типом компрессора, испарителя и конденсатора, способом изменения холодопроизводительности, а также числом ступеней сжатия или каскадов охлаждения.
Характерная особенность автоматизации аммиачных холодильных установок – повышенные требования в отношении безопасности эксплуатации вследствие высокой токсичности аммиака, его взрывоопасности, а также опасности разрушения компрессоров от гидравлических ударов.
В вагонах рефрижераторного подвижного состава, вагонах-ресторанах, в пассажирских вагонах с кондиционированием воздуха для охлаждения шкафов и небольших камер краткосрочного хранения продуктов применяют следующие автоматизированные фреоновые холодильные агрегаты:
- компрессор-двигатель;
- компрессор-конденсатор;
- испаритель-регулирующая станция;
- испаритель-конденсатор;
- компрессор-конденсатор-испаритель.
Компрессоры этих агрегатов обычно вертикальные или V-образные, многоцилиндровые блок-картерные, с воздушным охлаждением цилиндров. Существуют также герметичные агрегаты, в которых компрессор вместе с электродвигателем помещен в герметичный кожух. К таким агрегатам относятся установки домашних холодильников.

Рис. 1 – Схема холодильника «ЗИЛ» Москва
Холодильник «ЗИЛ-Москва» оборудован компрессором (7) (рис. 1) с электродвигателем (5), конденсатором (1), испарителем (2), термостатом (5), капиллярной трубкой (4), фильтром (5), пусковым и силовым реле. Компрессор имеет штуцер (6) для зарядки хладоном-12. Работа агрегата регулируется с помощью термостата, который автоматически поддерживает заданную температуру в холодильном шкафу. Включение электродвигателя осуществляется пусковым реле, в одном корпусе с которым смонтировано тепловое реле, защищающее двигатель от перегрузки.
Вагоны-рестораны оборудованы фреоновыми установками ФРУ и ФАК для охлаждения холодильных шкафов и камер. Схема фреоновой ротационной установки (ФРУ) показана на (рис. 2), а установки с поршневым компрессором – на рисунке 3.

Рис. 2 – Схема фреоновой ротационной холодильной установки: 1 – испаритель; 2 – терморегулирующий вентиль; 3 – жидкостная линия; 4 – предохранители; 5 – всасывающая линия; 6 – реле давления; 7 – арматурный щиток; 8 – выключатели; 9 – штепсельная розетка; 10 – магнитный пускатель; 11 – нагнетательный вентиль; 12 – газовый фильтр; 13 – ротационный компрессор; 14 – воздушный конденсатор; 15 – электродвигатель; 16 – всасывающий патрубок; 17 – обратный клапан; 18 – фильтр для жидкости; 19 – ресивер; 20 и 21 – запорные вентили ресивера

Рис. 3 – Схема фреоновой холодильной машины ИФ-50: 1 – испарительная батарея; 2 – терморегулирующий вентиль; 3 – магнитный пускатель; 4 – чувствительный патрон терморегулирующего вентиля; 5 – теплообменник; 6 – реле давления; 7 – компрессорно-конденсаторный агрегат
Холодильное оборудование цельнометаллического вагона-ресторана состоит из трех автоматических компрессорно-конденсаторных агрегатов типа ФАК-0,9ВР, снабженных приводом от электродвигателей постоянного тока ПНФ-5 напряжением 50 В. Каждый агрегат охлаждает два ящика или шкафа, оборудованных испарительными батареями и аккумуляционными плитами. В вагоне имеется три подвагонных ящика для хранения рыбы, мяса и напитков. В раздаточном отделении установлен шкаф для хранения кондитерских изделий; холодильный шкаф, который размещен на кухне, служит для хранения гастрономических продуктов; рядом с ним расположен шкаф для холодных блюд.
В холодильных установках вагонов-ресторанов используются две системы охлаждения – с непосредственным кипением хладагента и аккумуляционная. Для охлаждения подвагонных ящиков и шкафов применены трубчатые испарители из медных труб с плоскими латунными ребрами, а также испарители из медных труб сечением 12×1 мм с ребрами из тонкой латунной ленты. В подвагонном ящике для напитков и шкафу для кондитерских изделий установлены аккумуляционные плиты. Они представляют собой сварные баки из нержавеющей стали, внутри которых размещены трубчатые пластинчатые испарители. Межтрубное пространство внутри баков залито водой, которая замерзает во время работы установки и аккумулирует холод.
Все ящики и шкафы оборудованы терморегулирующими вентилями. Цикличность работы холодильных агрегатов обеспечивает реле давления РД-1, которое автоматически воздействует на пусковую аппаратуру электродвигателей.

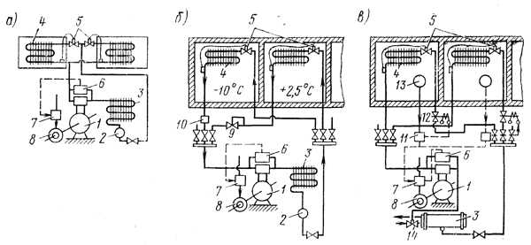
Рис. 4 – Схемы автоматизированных поршневых холодильных установок с несколькими охлаждаемыми объектами: а – при двухпозиционном регулировании; б – при обслуживании двух камер; в – при регулировании температуры с помощью терморегуляторов; 1 – компрессор; 2 – ресивер; 3 – конденсатор; 4 – испаритель; 5 – терморегулирующие вентили; 6 – реле давления; 7 – магнитный пускатель; 8 – электродвигатель; 9 – автоматический дроссель давления; 10 – обратный клапан; 11 – промежуточное реле; 12 – соленоидный вентиль; 13 – терморегулятор; 14 – водорегулирующий вентиль
Типовые схемы автоматизации компрессионных поршневых холодильных установок с несколькими охлаждаемыми объектами могут быть выполнены в различных вариантах. Схема автоматизации при двухпозиционном регулировании в одном или двух испарителях с одинаковой температурой охлаждения воздуха камеры (рис. 4, а) предусматривает применение реле температуры испарителя, камеры или реле низкого давления компрессора. При обслуживании одной холодильной машиной двух камер с различными температурами (рис. 4, б) используют автоматический дроссель давления (9) (АДД). Схема регулирования температуры с помощью терморегуляторов показана на рисунке 4, в.
vse-lekcii.ru
Основы автоматизации холодильных машин
Развитие холодильной техники в последние десятилетия характеризуется как существенным совершенствованием и созданием принципиально новых машин и установок умеренного холода, так и быстрым внедрением их в различные отрасли народного хозяйства.
Современное состояние холодильной техники определяется несколькими основными факторами и прежде всего развитием конструкций холодильных компрессоров.
Поршневые компрессоры остаются основным по количеству типом. Однако в их конструкции произошли значительные изменения. Компрессоры стали быстроходными, частота вращения вала повышена до 1500–3000 об/мин, узлы подвергаются повышенным нагрузкам. Широкое распространение получили компрессоры со встроенными электродвигателями — герметичные и бессальниковые, причем наблюдается тенденция к увеличению их холодопроизводительности. Многие поршневые компрессоры снабжаются устройствами для изменения холодопроизводительности.
Главными преимуществами винтовых компрессоров являются высокая надежность и долговечность, простота регулирования и малая материалоемкость. Холодопроизводительность винтовых компрессоров от сотни до полутора тысяч киловатт.
Центробежные компрессоры предназначены для самых крупных машин. Их единичная холодопроизводительность достигает 10 и более тысяч киловатт. Современные центробежные компрессоры снабжены устройствами для изменения холодопроизводительности в широких пределах.
Существенным изменениям подвергается и теплообменная аппаратура.
Широкое распространение получают кожухотрубные испарители с внутритрубным кипением, интенсивные воздухоохладители, конденсаторы воздушного охлаждения и др.
Наряду с компрессионными машинами создаются и крупные теплоиспользующие машины, в частности водоаммиачные и бромисто-литиевые, которые могут работать от источников тепла с низким потенциалом и способствовать более рациональному и экономному использованию энергии.
Развитие холодильного оборудования потребовало и соответствующего подхода к вопросам его автоматизации. Цель автоматизации — повышение экономической эффективности оборудования и обеспечение безопасности при его работе.
Устройства автоматики повышают экономичность эксплуатации главным образом вследствие уменьшения затрат труда на обслуживание, повышения производительности труда персонала. Отказ от непрерывного обслуживания установок на предприятиях-потребителях холода позволил бы высвободить десятки тысяч квалифицированных рабочих.
Работы по автоматизации проводятся на разных этапах создания холодильного оборудования.
В настоящее время подавляющее большинство холодильных машин комплектуются приборами и средствами автоматизации при изготовлении на заводах. Эти машины могут полностью функционировать на объектах эксплуатации без каких-либо доделок.
В то же время в ряде отраслей промышленности и транспорта из отдельных машин и агрегатов создаются крупные разветвленные установки. Важную роль здесь играют проектные организации, которые наряду с технологическими процессами создают и системы автоматизации. Ныне крупными потребителями холодильного оборудования наряду с пищевыми отраслями промышленности и торговли являются химическая и нефтехимическая, сельское хозяйство, промысловый и транспортно-рефрижераторный флот, железнодорожный транспорт, системы кондиционирования воздуха и др.
Многообразие потребителей затрудняет унификацию оборудования и проектных решений, неоправданно расширяет номенклатуру приборов и средств автоматизации.
Вместе с тем при комплексном подходе к автоматизации многие технические решения можно унифицировать.
Все сказанное показывает, что в современных условиях возрастает роль инженеров-холодильщиков в решении комплексных задач по созданию высокоэффективного автоматизированного холодильного оборудования.
В современной технике под автоматизацией понимают комплекс технических мероприятий, частично или полностью исключающих участие людей в том или ином технологическом процессе. Говоря об автоматизации холодильных машин и установок, обычно имеют в виду автоматизацию их работы в период эксплуатации.
Автоматизацию холодильных машин и установок осуществляют в целях повышения их экономической эффективности и обеспечения безопасности работы людей. Повышение экономической эффективности достигается вследствие уменьшения эксплуатационных расходов и затрат на ремонт оборудования, а безопасность эксплуатации — применением автоматических устройств, защищающих установки от работы в опасных режимах.
Различают две степени автоматизации: частичную и полную.
При частичной автоматизации устройства автоматики управляют только некоторыми технологическими операциями. Поэтому требуется непрерывное обслуживание и наблюдение со стороны технического персонала. Однако по сравнению с неавтоматизированной установкой трудоемкость обслуживания установок уменьшается.
При полной автоматизации устройства автоматики управляют всеми основными процессами, что позволяет отказаться от непрерывного обслуживания. Обслуживание может быть периодическим (один раз в сутки, в неделю и т.д.) или по необходимости (участие персонала только в ликвидации ненормальностей).
Деление на две степени автоматизации в некоторой степени условно, так как в большинстве установок, которые могут в течение определенного времени функционировать без вмешательства персонала, остаются операции обслуживания, выполняемые вручную (проверка и обеспечение плотности соединений, выпуск масла из аммиачных систем, профилактический осмотр и проверка узлов и агрегатов и т.д.).
Большенство современных холодильных агрегатов, чиллеров, сплит-систем,моноблоков и проч. Являются полностью автоматизированными. Современная холодильная централь, водоохлаждающая установка,при полном автоматическом контроле ,способна работать без контролля спецпервонала многие годы с вывокой степенью надежности.
Общие сведения
Автоматизированная холодильная установка содержит одну или несколько отдельных систем автоматизации, каждая из которых выполняет определенную функцию. Все эти системы содержат автоматические устройства, и, кроме того, в них имеются общие устройства, объединяющие работу отдельных систем.
Системы автоматизации
Системой автоматизации называют совокупность объекта автоматизации и автоматических устройств, позволяющих управлять работой этого объекта без участия персонала.
Объектом автоматизации могут быть машина или установка в целом, либо отдельные ее агрегаты, узлы, аппараты и т. д. Объект характеризуется выходной, или регулируемой величиной и ее связью с входным, или регулирующим (управляющим), воздействием.
Системы автоматизации могут быть замкнутыми и разомкнутыми.
Классификация
Автоматические регуляторы классифицируют по типу задающего элемента, в зависимости от источника энергии, от способа воздействия на объекты, от связи между элементами и между отклонением и регулирующим воздействием.
По типу задающего элемента (задатчика) автоматические регуляторы могут быть стабилизирующими, программными, следящими и оптимальными.
В стабилизирующих регуляторах уставка задатчика остается неизменной в течение длительного времени, в результате чего обеспечивается поддержание регулируемой величины на постоянном заданном уровне. Эти регуляторы могут иметь задатчики и не иметь их, а следовательно, и элементов сравнения. Например, для большинства регуляторов уровня заданное значение определяется высотой установки датчика, которая в дальнейшем не изменяется.
В холодильной технике наиболее распространены стабилизирующие регуляторы.
В отличие от стабилизирующего программный регулятор отрабатывает переменное задание по заранее намеченной программе. Задание может изменяться с помощью вращающегося кулачка определенного профиля, графика, изображенного на бумаге или пленке, и т. д.
Следящий регулятор получает задание, изменяющееся во времени по не известной заранее программе. К следящим регуляторам относят электронные мосты и потенциометры. Как и в любом измерительном приборе, положение стрелки в них должно соответствовать измеряемой величине, которая является заданным значением и может произвольно изменяться. Механизм, перемещающий стрелку, должен с минимальной погрешностью отрабатывать все изменения задающей (измеряемой) величины.
Оптимальные регуляторы имеют задающие устройства, содержащие кибернетические элементы. С помощью запрограммированных математических зависимостей, вводимых в задающее устройство, или путем последовательных проб определяется такое задание регулятору, которое при данных реальных условиях обеспечивает оптимальное ведение процесса (по производительности, стоимости, КПД или другим показателям).
В зависимости от источника энергии, приводящего в движение регулирующий орган, различают регуляторы прямого или непрямого действия.
В регуляторе прямого действия регулирующий орган перемещается под действием силы, развиваемой чувствительным элементом.
В регуляторах непрямого действия привод регулирующего органа может осуществляться вспомогательной энергией, подводимой извне, либо энергией, отбираемой от рабочей среды. Регуляторы с подводом вспомогательной энергии извне бывают электрические, пневматические, гидравлические и комбинированные. Регуляторы без подвода вспомогательной энергии извне, обычно использующие давление рабочей среды до регулирующего органа, состоят из небольшого управляющего регулятора прямого действия (пилота) и специального исполнительного механизма. Клапан пилота выполняет функции усилителя и управляет работой основного регулирующего органа. Таким образом, хотя регулятор и снабжен усилителем, энергия извне к нему не подводится.
В зависимости от способа воздействия на объекты регуляторы могут быть плавного и позиционного действия. В регуляторах плавного действия величина х может принимать любые значения в пределах между максимальным и минимальным. Так, регулирующий клапан, приводимый в движение электрическим или пневматическим исполнительным механизмом, может плавно изменять расход жидкости или пара.
В регуляторах позиционного действия величина х имеет два или несколько значений. Например, электромагнитный вентиль не занимает промежуточного положения, а может быть только открыт или закрыт.
В зависимости от связи между элементами системы могут быть непрерывными и импульсными.
Системы, в которых связь между элементами постоянна, т. е. каждый из элементов жестко присоединен к соседним, называют непрерывными.
Системы, в которых связь между любыми элементами не остается постоянной, а периодически размыкается, называют импульсными (прерывистыми). К таким устройствам относят многоточечные регуляторы. В них один усилитель обслуживает ряд регулирующих цепей, к которым он поочередно подключается. Каждая из цепей периодически на короткое время замыкается, а остальную часть периода остается разомкнутой.
В зависимости от характера связи между отклонением и регулирующим воздействием (иногда эту связь называют законом регулирования) различают пропорциональные и интегральные регуляторы.
Типовые элементарные звенья систем автоматизации
Каждую автоматическую систему условно можно представить в виде набора элементарных звеньев. Для удобства используются некоторые наиболее распространенные виды звеньев, которые называют типовыми. Элементарные звенья отличаются друг от друга характеристиками. Звенья являются линейными, если их статические характеристики не зависят от режима работы, а поведение можно описать линейными дифференциальными уравнениями.
К линейным элементарным звеньям относят апериодическое (инерционное) звено I порядка, интегрирующее звено и звено запаздывания. Кроме того, часто встречаются нелинейные звенья (например, с релейными характеристиками).
Характеристики этих звеньев не линейны. Их особенность состоит в том, что плавное изменение входного сигнала вызывает одно или несколько скачкообразных изменений выходной величины. Выходная величина релейного элемента может принимать лишь фиксированные (дискретные) значения, поэтому системы, содержащие эти элементы, часто называют дискретными. Реле бывают двух-, трех- и многопозиционными.
Характеристики идеальных реле однозначны. В реальных элементах из-за трения и люфтов статические характеристики неоднозначны. Кроме того, характеристики часто несимметричны.
Электрические исполнительные механизмы. Различают электромагнитные и электромоторные исполнительные механизмы.
Электромагнитные исполнительные механизмы. Эти механизмы, обычно имеющие релейную характеристику, предназначены для двухпозиционных систем регулирования. Исполнительные механизмы состоят из обмотки электромагнита, неподвижного и подвижного сердечников. На подвижный сердечник действуют нагрузка Р и сила сжатия пружины. При подаче тока в обмотку напряжением подвижный сердечник преодолевает сопротивление пружины и силы, в результате чего притягивается к неподвижному сердечнику. При этом совершается поступательное перемещение выходного штока. При отключении обмотки под действием пружины подвижные детали возвращаются в исходное положение.
Тяговое усилие электромагнита растет с увеличением ампер-витков обмотки и с уменьшением хода.
Управление работой электромагнитного исполнительного механизма осуществляется через двухпозиционное пусковое устройство УП, к которому подводится напряжение. Когда это напряжение достигает нужной величины, пусковое устройство, срабатывая, включает электромагнит.
Электромоторные исполнительные механизмы. Эти механизмы относят к классу реверсивных механизмов постоянной скорости с плавной интегральной характеристикой. Привод осуществляется от электродвигателя, поэтому основным типом является исполнительный механизм с вращательным движением выходного вала.
Для уменьшения выбега вала при выключении двигателя используют тормозные устройства. Во избежание перегрузки привода и его выхода из строя в состав исполнительного механизма входит муфта предельного момента, которая выключает двигатель при достижении предельного момента на валу.
Требуемый угол поворота устанавливается концевым выключателем, отключающим двигатель при достижении заданного положения вала.
Для схем пропорционального регулирования предусматриваются устройства обратной связи, которые выдают сигнал, пропорциональный углу поворота. Эти же устройства можно использовать для дистанционного указания положения вала.
Управление работой исполнительного механизма осуществляется пусковым устройством, при срабатывании которого двигатель включается с тем или другим направлением вращения.
Механические исполнительные механизмы. Их применяют в пневматических и гидравлических системах. По конструкции они бывают мембранные и поршневые, а по характеристикам могут быть пропорциональными и интегральными.
Выходным элементом механических исполнительных механизмов является шток, совершающий поступательное перемещение. В необходимых случаях в конструкцию вводят узлы для получения вращательного движения (кривошипный механизм).
В рассматриваемых исполнительных механизмах усилие, необходимое для перестановки штока, достигается за счет управляющей разности давлений, воздействующей на мембрану или поршень.
Мембранный исполнительный механизм. Его применяют в основном в пневматических системах на сжатом воздухе. Сверху к мембране прикладывается управляющее давление от пневматического усилителя. Снизу на мембрану действует атмосферное давление.
Регулирующие органы. Вид регулирующего органа, используемого в системе автоматического регулирования, зависит от выполняемых функций. Это могут быть устройства, изменяющие расход вещества через тот или иной трубопровод, а также холодопроизводительность компрессора и т. д.
Изменение расхода вещества, протекающего через трубопровод, достигается изменением проходного сечения регулирующего органа и связанного с ним перепада давления. В качестве регулирующего органа в холодильной технике в основном применяют регулирующие клапаны и вентили. От правильного выбора регулирующего органа зависит качественная работа системы регулирования.
На расчет и выбор регулирующего органа существенное влияние оказывает фазовое состояние протекающего вещества. Расчет регулирующего органа достаточно легко выполняется, если протекают однофазная жидкость или газообразная среда. Если среда двухфазная или если при ее протекании происходит фазовое превращение (вскипание), точный расчет представляет большие трудности и, как правило, заменяется эмпирическими соотношениями. В связи с этим ниже приводится методика расчета регулирующего органа, в котором протекает однофазная жидкость.
Как элемент системы автоматического регулирования регулирующий орган может иметь плавную или релейную характеристику.
При расчете регулирующего органа необходимо определить пропускную способность и рабочую статическую характеристику.
Регулирующие органы могут иметь одну из следующих плавных характеристик: линейную, параболическую или равнопроцентную.
Эти характеристики, определяемые обычно для одного перепада давлений, называют собственными, или внутренними, характеристиками регулирующего органа.
Основные схемы поддержания температур в объектах охлаждения
Схема автоматического регулирования температуры зависит от назначения и технологических особенностей холодильной установки.
Ниже рассматриваются некоторые наиболее типичные схемы, встречающиеся в практике автоматизации компрессионных холодильных установок.
В однообъектной установке температура рабочей среды (воздуха или жидкости) поддерживается путем непосредственного испарения хладагента в охлаждающем устройстве-испарителе. Такая схема встречается чаще всего в установках, где объектами являются камера для хранения продуктов, испытательные камеры и другие помещения, в которых необходимо поддерживать температуру воздуха.
При выборе системы регулирования следует учитывать тепловую емкость объекта, допустимые отклонения температуры от заданной, а также тип компрессора.
Если способ «пуск — остановка» неприемлем, то применяют многопозиционное регулирование либо в необходимых случаях плавное. В этих случаях регулирующий прибор должен обладать соответственно многопозиционной или плавной характеристикой и воздействовать на устройства регулирования компрессора.
Изменение холодопроизводительности компрессоров
Изменение холодопроизводительности компрессоров необходимо при решении основной задачи автоматизации — поддержании заданной температуры в объектах охлаждения.
Известны различные способы изменения холодопроизводительности. Одни из них осуществляются внешними устройствами, другие реализуются с помощью специальных узлов, конструктивно встроенных в компрессоры. Ниже рассматриваются способы изменения холодопроизводительности основных видов компрессоров: поршневых, винтовых и центробежных.
Поршневые компрессоры
Поршневые компрессоры — наиболее распространенный тип холодильных компрессоров. Широкий диапазон холодопроизводительности (от сотен ватт до сотен киловатт), различные назначения и требования к установкам, где они применяются, обусловливают использование различных способов изменения холодопроизводительности. Главными из них являются «пуск— остановка», изменение числа работающих цилиндров, изменение частоты вращения вала компрессора, дросселирование всасываемого пара, байпасирование или перепуск сжатого пара на всасывающую сторону.
Выбор того или иного способа зависит от принятой системы регулирования температуры в объекте, конструкции компрессора, типа привода и т. д.
Способ «пуск — остановка»
Подавляющее большинство поршневых компрессоров приводится в действие от асинхронных короткозамкнутых электродвигателей. В связи с этим рассмотрим способ «пуск — остановка» компрессоров, снабженных только таким типом привода.
В зависимости от соотношения между вращающим моментом электродвигателя и моментом сопротивления компрессора различают прямой пуск и пуск с разгрузкой. При прямом пуске вращающий момент электродвигателя больше момента сопротивления компрессора. В этом случае для пуска достаточно выключить электродвигатель. Пуск с разгрузкой применяют, когда возможно превышение момента сопротивления над вращающим моментом электродвигателя. На время пуска искусственно разгружают компрессор, уменьшая момент его сопротивления.
Винтовые компрессоры
Винтовые компрессоры в отличие от поршневых являются легкорегулируемыми, плавно и в широких пределах. Это достигается с помощью специального золотника (ползуна), встроенного в компрессор.
Роторы (винты) вращаются в цилиндрах, нижняя часть которых состоит из неподвижной стенки 6 и подвижного золотника 3. В крайнем левом положении золотник вплотную примыкает к неподвижной стенке, образуя сплошные цилиндры. Если золотник отводить вправо, то образующаяся щель уменьшает ход сжатия винтов и тем самым холодопроизводительность компрессора.
Золотник перемещается от исполнительного механизма с вращательным или поступательным движением. В рассматриваемом компрессоре привод золотника осуществляется через винтовую пару, винт и направляющую.
Для привода золотника компрессора применяют электрические исполнительные механизмы и гидравлические цилиндры.
cp-h.ru
