Инструкция на бойлер BAXI – Электро-сантехник
ЭЛЕКТРИЧЕСКИЕ НАКОПИТЕЛЬНЫЕ ВОДОНАГРЕВАТЕЛИ BAXI
Инструкция по установке и эксплуатации
Поздравляем Вас с приобретением электрического водонагревателя компании «БАКСИ». Данный аппарат является высоконадежным продуктом, соответствующим европейским стандартам качества. Он прост в обращении, имеет высокие потребительские свойства и будет служить Вам долго. Надеемся, что Вы останетесь довольны его работой. Мы просим Вас внимательно прочитать данную инструкцию для обеспечения корректной установки и эксплуатации водонагревателя.


1.ОБЩИЕ СВЕДЕНИЯ
1.1.Комплект поставки и назначение
1.1.1.Водонагреватель
1.1.2.Предохранительный клапан
1.1.4.Заводская упаковка
Аппарат предназначен для нагрева объема воды до заданной температуры и дальнейшего поддержания температуры в автоматическом режиме.
Время нагрева воды зависит от мощности нагревательного элемента и от объема водонагревателя.
Пример: время нагрева водонагревателя емкостью 100 литров с нагревательным элементом (ТЭНом) на 1500 Вт с 15°С до 60°С составляет примерно 3 часа 45 мин.
1.2.Принцип работы и основные элементы
Вода в водонагревателе нагревается до заданной температуры. При открытии крана горячей воды в водонагреватель снизу через трубку холодной воды начинает поступать холодная вода. Холодная вода, поступающая снизу, вытесняет ранее нагретую воду через трубку горячей воды, идущую из верхней точки аппарата. Таким образом, горячая вода, начиная с верхней части бака, поступает потребителю, а снизу водонагреватель заполняется холодной водой. Нагревательный элемент (ТЭН) снова начинает нагревать воду до заданной температуры.
Основными элементами водонагревателя являются:
1) Внутренний бак – выполнен из стали и защищен от коррозионного воздействия воды двухслойной высококачественной титановой эмалью.
2) Теплоизоляция выполнена из высокоплотного пенополиуретана. Обеспечивает минимальные потери температуры нагретой воды даже при отключенном водонагревателе.
3) Нагревательный элемент (ТЭН)
4) Термостат – отслеживает заданную температуру с помощью управления включением-выключением ТЭНа.
5) Регулятор температуры – задает желаемую температуру нагрева воды в водонагревателе (находится под крышкой на термостате).
6) Индикатор температуры – показывает примерную степень нагрева воды в водонагревателе.
8) Магниевый анод – дополнительная защита внутреннего бака от коррозии.
2.УСТАНОВКА
Для установки приобретенного оборудования Вы можете воспользоваться платными услугами специалистов сервисных центров, которые проведут все необходимые работы для нормального использования продукции. Адреса и телефоны сервисных центров необходимо спросить у продавца.
Вы можете также воспользоваться услугами любых других квалифицированных специалистов. Однако, в этом случае компания «БАКСИ» не несет ответственности за ущерб, нанесенный неверной установкой и пренебрежительным отношением к рекомендациям данного руководства, а именно:
1) Электрическое подсоединение должно выполняться в соответствии с правилами раздела «2.3.Электрическое подсоединение».
3) Установку рекомендуется производить с помощью специалистов, имеющих необходимую квалификацию.
Чтобы уменьшить потери тепла по длине труб, аппарат следует устанавливать как можно ближе к месту отбора горячей воды. Для облегчения ухода за аппаратом следует оставить место для свободного доступа к электрическим частям (примерно 0,5 м).
2.1.Крепление водонагревателя
Водонагреватель крепится на крюки, вмонтированные в стену (в комплект поставки не входят). Для крепления к стене используется крепежная пластина сзади водонагревателя. Крюки, вмонтированные в стену, должны выдерживать вес, троекратно превышающий вес нагревателя, заполненного водой. Для водонагревателей рекомендуется использовать металлический крепеж диаметром 1О мм и более.
2.2.Подсоединение к системе водоснабжения
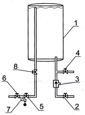
Подсоединяемые к водонагревателю шланги и соединения должны выдерживать как рабочее давление, так и температуру не ниже 80°С. Синим кольцом обозначен вход холодной воды, красным кольцом обозначен выход горячей воды.
2.2.1.Стандартное подсоединение
При стандартном подсоединении водонагреватель работает под давлением, определяемым давлением в магистрали.
Подсоединение входной трубы водонагревателя к системе водоснабжения осуществляется через предохранительный клапан входящий в комплект поставки.
A – Направление потока воды.
B – Подсоединение к системе слива.
C – Ручка для слива воды.
Во избежание поломки при завинчивании предохранительного клапана не применяйте больших усилий.
Предохранительный клапан выполняет две функции:
-пропускает воду только в одном направлении (является обратным клапаном).
-при давлении выше 8 бар стравливает воду через отверстие сбоку (откалиброван на 8 бар).
Появление водяных капель из отверстия предохранительного клапана во время нагрева воды является естественным процессом и связано с расширением воды в баке при нагревании. Отверстие клапана советуем подсоединить отводной гибкой трубкой или при помощи воронки к системе слива.
Ни в коем случае нельзя закрывать отверстие клапана!
Если давление воды в магистрали превышает 5 бар (атмосфер), следует после водяного счетчика поставить редуктор давления.
Хотя клапан снабжен ручкой для слива, для удобства обслуживания при подсоединении к системе водоснабжения рекомендуется между входной трубой водонагревателя и предохранительным клапаном добавить тройниковый отвод, к которому подсоединить кран для слива воды из водонагревателя (4). Во избежание случайных открываний лучше, если он будет открываться при помощи специального ключа.
1. Водонагреватель
2. Запорный кран водопроводной сети
3. Предохранительный клапан
4. Кран для слива воды из водонагревателя
6. Кран холодной воды смесителя
7. Смеситель
8. Запорный кран горячей воды на выходе из водонагревателя
2.2.2.Подсоединение к открытому резервуару с водой -“Дачный вариант”
Вода поступает в водонагреватель (1) самотеком из резервуара (9). Для этого тройник развода воды из резервуара на водонагреватель и прочие нужды должен быть выше верхней точки водонагревателя. При данном варианте подсоединения предохранительный клапан не используется.
1. Водонагреватель
4. Кран для слива воды из водонагревателя
5. Кран горячей воды смесителя
6. Кран холодной воды смесителя
7. Смеситель
8. Резервуар для воды (бак большой ёмкости)
2.3.Электрическое подсоединение
Аппарат предназначен для подключения к однофазной электрической сети переменного тока 230V.
Для отключения водонагревателя от сети следует использовать двухполюсный выключатель (желательно автомат) с расстоянием между разомкнутыми контактами не менее 3 мм.
3.ВКЛЮЧЕНИЕ И РАБОТА
3.1.Ввод в действие
Непосредственно перед включением заполните водонагреватель. Для этого откройте запорный кран водопроводной сети (2), запорный кран горячей воды на выходе из водонагревателя (8) и кран горячей воды смесителя (5) для вытеснения воздуха до тех пор, пока из смесителя (7) не будет наблюдаться равномерный выход воды.
После заполнения водонагревателя закройте кран горячей воды смесителя (5), осмотрите аппарат и убедитесь, что он не протекает. Включите водонагреватель.
В процессе работы трубка подвода холодной воды может нагреваться.
Перед каждым последующим включением убедитесь, что водонагреватель заполнен водой, открыв кран горячей воды и убедившись, что вода течет.
3.2.Регулировка температуры
Для термостата максимальная установка по температуре лежит в пределах от 68 до 75°С.
Температуру можно регулировать, вращая отверткой регулировочный винт термостата (для этого необходимо снять пластмассовую крышку).
Направления для увеличения и уменьшения температуры отмечены знаками «+» и «-».
3.3.Если аппарат не находится под присмотром в течение продолжительного времени, то следует отключить водонагреватель от электрической сети и перекрыть кран в магистрали холодного водоснабжения.
3.4.Отключение на зиму
Если аппарат не будет использоваться в течение зимнего периода (например, на даче), то во избежание замерзания воды в водонагревателе следует слить всю воду из аппарата. Для этого следует отключить водонагреватель от электрической сети, перекрыть кран в магистрали холодного водоснабжения, открыть кран на выходной трубе аппарата и слить воду из входной трубки (открыв кран тройникового отвода или отвинтив предохранительный клапан или пользуясь ручкой для слива на клапане).
4.ТЕХНИЧЕСКОЕ ОБСЛУЖИВАНИЕ И РЕМОНТ
Рекомендуется выполнять специалистам, имеющим необходимую квалификацию.
4.1.Замена отдельных частей и обслуживание
Перед проведением любой операции по ремонту или обслуживанию отключите прибор от электрической сети!
4.1.1.Замена термостата и лампочки-индикатора
Чтобы иметь доступ к термостату, следует отвинтить и снять пластиковую крышку водонагревателя. Термостат или неисправная лампочка снимаются без слива воды из бака.
4.1.2.Доступ к внутренним элементам (баку, нагревательному элементу, магниевому аноду)
Перед проведением работ с внутренними элементами необходимо опорожнить аппарат. Для этого перекрыть кран в магистрали холодного водоснабжения, открыть кран на выходной трубе аппарата и слить воду из входной трубки (открыв кран тройникового отвода или отвинтив предохранительный клапан или пользуясь ручкой для слива на клапане).
Снимите пластиковую крышку. Отсоедините клеммы питания и клемму заземления. Открутите болты и выньте фланец.
Нагревательный элемент соединен с фланцем. Устанавливая все на место, убедитесь, что фланцевая прокладка, термостат и нагревательный элемент установлены верно. При обратной установке рекомендуется закручивать болты по перекрестной схеме, используя средние усилия. Для горизонтальных моделей ТЭН нужно монтировать повернутым вниз.
4.1.3.Регулярное обслуживание
Примерно раз в 2 года рекомендуется удалять накипь с нагревательного элемента (сроки зависят от жесткости воды).
Накипь можно осторожно убирать механическим путем с демонтированного нагревательного элемента, чтобы не повредить его защитную поверхность, либо обрабатывать нагревательный элемент веществами, предназначенными для удаления накипи.
Для дополнительной защиты от коррозии водонагреватели оснащены магниевыми анодами. При агрессивных свойствах воды магниевый анод может изнашиваться.
Необходимо НЕ РЕЖЕ ОДНОГО РАЗА В ГОД проверять состояние магниевого анода. При сильном изнашивании магниевый анод необходимо заменить! Гарантия на бак при изношенном магниевом аноде недействительна.
Для замены магниевого анода следует вынуть фланец нагревательного элемента, отвинтить старый магниевый анод и прикрутить новый.
Выполнение правил регулярного обслуживания позволит Вам обеспечить долгий срок службы водонагревателя.
4.2.При срабатывании двухполюсного защитного устройства
Все водонагреватели имеют двухполюсное защитное устройство, которое срабатывает в случае перегрева воды. В этом случае следует определить причину перегрева и произвести ручной перезапуск термостата, нажав кнопку перезапуска, расположенную на термостате (или, в случае неисправности, заменить термостат).

4.3.ПОЛЕЗНЫЕ СОВЕТЫ
4.3.1.Прежде, чем вызывать мастера по первому подозрению в неисправности, проверьте сначала, не является ли причиной отказа в работе отсутствие света или воды.
4.3.2.Если из кранов не течет горячая вода, проверьте сначала, отвечает ли подсоединение к водоснабжению и электрической сети требованиям, изложенным в соответствующих разделах данного руководства. Проверьте надежность контактов между клеммами и соответствующими зажимами термостата. Если всё в порядке, значит могло сработать двухполюсное защитное устройство (см. предыдущий раздел).
4.3.3.Перед тем, как производить любые действия по уходу, ремонту или очистке, отключите водонагреватель от электросети и водоснабжения.
4.3.4.Если не включается лампочка-индикатор, а аппарат нагревает воду, проверьте исправность лампочки (пункт 4.l.l.).
4.3.5.Во избежании засорения рекомендуем раз в месяц промывать предохранительный клапан. Для этого надо поднять ручку несколько раз.
4.3.6.Не рекомендуется усиленно снимать накипь с внутренней поверхности бака, т.к. слой накипи является дополнительной защитой бака от коррозии. Для очистки ёмкости бака используйте мыльный раствор. Запрещается использовать абразивные материалы и растворы, основанные на органических составляющих.
4.3.7.При подсоединении к системе водоснабжения следует избегать прямого контакта двух разных металлов (например, при использовании медных труб). Для этой цели используются диэлектрические переходники, которые можно приобрести в авторизованных сервисных центрах. Диэлектрические переходники также уменьшают коррозионные свойства воды. Их необходимо установить непосредственно на водонагреватель, а затем выполнить все гидравлические подсоединения, описанные в инструкции.
5.ТЕРМОЭЛЕКТРИЧЕСКИЕ МОДЕЛИ
Все основные положения данного руководства верны и для термоэлектрических моделей. Термоэлектрические модели в конце обозначения имеют буквы ТО или TS (отводы справа или слева, соответственно). Дополнительной операцией для этого типа водонагревателей является подсоединение их к сети центрального отопления.
Подсоедините верхний вывод водонагревателя к подающей цепи системы центрального отопления, а нижний – к обратной цепи, использовав 2 вентиля.
Нижний вентиль рекомендуем использовать для отключения аппарата от системы центрального отопления, когда система отопления не работает.
(Вентили для подсоединения к сети центрального отопления в комплект поставки не входят.)
P.S. Что делать, если Вам понадобится совет или консультация?
- Получите ещё больше информации, прочитав другие статьи.
- Задайте вопрос на форуме Электро-Сантехника.
- Позвоните мне на мобильный телефон или по Скайпу.
- Задайте свой вопрос в социальных сетях – ВКонтакте, Одноклассники, Facebook, Twitter, livejournal. Подписывайтесь на страницы Электро-Сантехника и узнавайте много другой интересной информации, не попавшей на сайт.
- Найдите в себе желание и скажите спасибо автору сайта.
Всего Доброго! Удачи!
Искренне Ваш, Владимир Электро-Сантехник.
elektrosantehnik.ru
Электрические водонагреватели Baxi (Бакси) – каталог производителя
TD/TS – термоэлектрические модели со встроенным змеевиком, для утилизации тепла от системы отопления.
|
ТЕХНИЧЕСКИЕ ХАРАКТЕРИСТИКИ |
ЭЛЕКТРИЧЕСКИЕ |
ТЕРМОЭЛЕКТРИЧЕСКИЕ |
|||||||||||||
|
R 501 SL |
R 501 |
R 515 SL |
R 515 |
V 530 |
V 550 |
V 580 |
V 510 |
O 580 |
O 510 |
V 580 TD |
V 580 TS |
V 510 TD |
V 510 TS |
||
|
Емкость бака |
л | 10 | 10 | 15 | 15 | 30 | 50 | 80 | 100 | 80 | 100 | 80 | 80 | 100 | 100 |
|
Напряжение |
В | 230 | 230 | 230 | 230 | 230 | 230 | 230 | 230 | 230 | 230 | 230 | 230 | 230 | 230 |
|
Макс. мощность тена |
Вт | 1200 | 1200 | 1200 | 1200 | 1200 | 1200 | 1200 | 1500 | 1500 | 1500 | 1500 | 1500 | 1500 | 1500 |
|
Макс. мощность змеевика |
кВт | - | - | - | - | - | - | - | - | - | - | 17,5 | 17,5 | 17,5 | 17,5 |
|
Термометр |
- | Нет | Нет | Да | Да | Да | Да | Да | Да | Да | Да | Да | Да | Да | Да |
|
Установка |
- | под раковиной | над раковиной | под раковиной | над раковиной | вертик. | вертик. | вертик. | вертик. | вертик. | вертик. | вертик. | вертик. | вертик. | вертик. |
|
Диаметр |
мм | 255 | 255 | 338 | 338 | 433 | 433 | 433 | 433 | 433 | 433 | 433 | 433 | 433 | 433 |
|
Высота |
мм | 456 | 456 | 400 | 400 | 623 | 585 | 814 | 973 | 810 | 969 | 814 | 814 | 973 | 973 |
|
Ширина |
мм | 262 | 262 | 345 | 345 | 345 | 451 | 451 | 451 | 451 | 451 | 451 | 451 | 451 | 451 |
|
Вес |
кг | 7,0 | 7,0 | 9,0 | 9,0 | 12,5 | 13,8 | 19,5 | 22,8 | 20,5 | 24,0 | 21,0 | 21,0 | 25,0 | 25,0 |
Рекомендованная розничная цена | EURO | 106 | 106 | 126 | 126 | 130 | 148 | 161 | 181 | 201 | 221 | 253 | 253 | 282 | 282 |
baxi.ru
Электрические накопительные водонагреватели Baxi
Холдинг Baxi Group основан в Англии в 1866 г. На сегодняшний день в его структуру входят более 30 компаний (расположенных в шести странах Западной Европы), в которых трудятся около 6 тыс. человек.
Baxi Group — одна из крупнейших компаний в области отопления и домашнего комфорта, занимающая по количеству производимых отопительных систем третье место в Европе (1 млн котлов, или 11 % европейского рынка). Общий оборот компании составляет более 1,3 млрд евро. Центром по производству настенных котлов компании является итальянский завод Baxi S.p.A., выпускающий более 500 тыс. котлов в год.
Главное стратегическое направление развития Baxi Group — использование новейших технологических решений и разработок. Благодаря непрерывному совершенствованию качества продукции, сервисных услуг и квалификации сотрудников, а также четкому пониманию нужд и запросов конечных потребителей, компания Baxi Group и стала одним из ведущих производителей, работающих на рынке отопительного оборудования.
Электрические накопительные водонагреватели производятся на заводе Baxi S.p.A. с 1965 г. Объем производства составляет 250 тыс. штук в год.
Основная отличительная особенность водонагревателей Baxi серий Extra, Must и Maxi — двухслойное покрытие внутреннего бака высокопрочной титановой эмалью. Процесс эмалирования происходит следующим образом: вначале внутренний бак покрывается слоем жидкой эмали. Она проникает во все неровности и шовные соединения внутренней поверхности бака, образуя идеальное защитное покрытие. Кроме того, жидкая эмаль, в отличие от порошковой, имеет лучшее сцепление с металлической поверхностью бака. После нанесения эмали, ее подсушивают горячим (300 °C) воздухом. Далее, методом электростатического напыления, наносится второй слой сухой порошковой эмали. И на заключительной стадии обработки — бак обжигается при температуре, близкой к 900 °C. Таким образом, два слоя эмали спекаются в один, образуя высокопрочное и долговечное покрытие, обеспечивающее устойчивость бака к коррозии и не меняющее химического состава воды.
Отметим: большинство производителей водонагревателей с целью удешевления своей продукции отказались от двухслойного метода эмалирования, что, естественно, сказывается как на качестве изделия, так и на сроке его службы.
Двухслойное эмалирование, использование новейших технологий, проверка работоспособности каждого водонагревателя, а также постоянный контроль качества продукции на всех этапах производства гарантируют высокое качество и максимально долгий срок службы водонагревателей Baxi. Всё это позволяет компании Baxi предоставлять на свои водонагреватели гарантию сроком на 3 года и 5 лет. Кроме того, компания Baxi является одним из немногих производителей, выпускающих энергосберегающие модели накопительных водонагревателей. Благодаря увеличенному (55 мм) слою теплоизоляции, выполненному из экологически чистого пенополиуретана повышенной плотности, эти водонагреватели позволяют сэкономить до 40 % электроэнергии по сравнению со стандартными моделями.
Особой популярностью у потребителя пользуются водонагреватели Baxi объемом 30 л, имеющие уменьшенный (340 мм) диаметр, что выгодно отличает их от аналогичных моделей водонагревателей других производителей, которые имеют стандартный диаметр — 360 мм. Они могут устанавливаться в сантехнических шкафах, чуланах, подсобках и других помещениях с ограниченным внутренним пространством.
Одной из последних новинок, представленных компанией Baxi на российском рынке, стали модели электрических накопительных водонагревателей с ТЭНами увеличенной мощности — 2 кВт. Такой ТЭН позволяет значительно сократить время нагрева, что обеспечивает пользователю дополнительный комфорт. Ассортимент водонагревателей данной серии представлен 4 вертикальными и горизонтальными моделями емкостью 80 и 100 л.
Также в ассортименте водонагревателей Baxi имеются термоэлектрические модели со встроенным змеевиком для утилизации тепла от системы отопления.
Особенности электрических водонагревателей Baxi
- Внутреннее покрытие бака — двухслойная титановая эмаль;
- Толщина стали внутреннего бака — 1,8 мм;
- Гарантия на бак — 3 года и 5 лет;
- Емкость — от 10 до 100 л;
- Мощность — 1200, 1500 и 2000 Вт;
- Фланец с нагревательным элементом и термостатом крепится на 5 болтах;
- Магниевый анод;
- Экологически чистая теплоизоляция;
- Предохранительный клапан в комплекте;
- 100-процентный контроль качества.
www.airs.ru