Осушитель воздуха для бассейнов Dantherm CDP 65 – ДЛЯ БАССЕЙНОВ
Описание
Отличия от CDP 45
- Влагосъем (при 25o и 80% RH): 3,45 (л/час);
- Расход воздуха: 750 (м3/ч);
- Высота/Ширина/Глубина:800/1800/315 (мм);
Общее описание
Осушитель отлично подходит для монтажа в плавательных бассейнах.
Осушители Dantherm серии CDP имеют приятный дизайн, разработанный в Дании. А благодаря лаконичному экстерьеру, он органично впишется практически в любой интерьер. Идеально подходит для помещений, в которых не было предусмотрено наличие осушителей.
В серии CDP используется конденсационный принцип работы. Воздух из помещения всасывается вентилятором внутрь осушителя, после чего его температура понижается ниже точки росы, таким образом, из воздуха выводится жидкость (вода), после этого он подогревается и выходит из боковых отверстий.
Осушители Dantherm CDP изготовлены с учетом современных энергосберегающих требований. Таким образом, они экономят электричество, а следовательно и Ваши деньги.
Благодаря продуманной конструкции и ряду технических решений компании Dantherm, осушители серии CDP практически бесшумны во время работы.
Осушители оснащены автоматическим электронным управлением и регулируемым гигростатом. Таким образом, Вы можете сами задавать требуемый режим работы. Если Вам необходимо периодически менять уровень влажности в помещении, то рекомендуется дополнительно приобрести и установить выносной комнатный гигростат. Осушитель просто контролировать, он оснащен информативным дисплеем отображающим режимы работы.
Функция размораживания контролируется электроникой.
В стандартной комплектации осушитель Dantherm CDP 65 крепится на стену, но при приобретении специального крепления он легко устанавливается на пол.
Управляющая электроника осушителя контролирует процесс обмерзания, как только сенсоры испарителя фиксируют обледенение, алгоритмы останавливают работу компрессора, и с помощью вентилятора, к испарителю подается теплый, комнатный воздух. Как только агрегаты оттают, компрессор включается, и осушитель переходит в нормальный режим работы.
Область применения:
- Для различных помещений;
- Частные бассейны;
- Терапевтические бассейны;
- Оздоровительные бассейны;
- Крытые бассейны;
- Душевые;
- SPA-залы;
- Музеи;
- Спортивные залы;
- Погреба;
- Архивы;
- Мастерские.
Конструктивные особенности:
- При изготовлении корпуса применяется горячеоцинкованная сталь, дополнительно защищенная порошковым покрытием.
- Испаритель и конденсатор дополнительно защищены от коррозии.
- Кронштейн, входящий в комплект, позволяет легко монтировать осушитель на стену. Так же к осушителю можно приобрести дополнительный кронштейн, предназначенный для напольного крепления.
- Слив конденсата расположен в нижней части осушителя. К нему может быть подключен шланг диаметром 1/2″ для слива в сточную канализацию.
- В осушителе используются фильтры, расположенные на входе, которые фильтруют проходящий через них воздух. К фильтрам обеспечен удобный доступ, и их можно промывать водой.
- Dantherm CDP 65 оснащен эффективным роторным компрессором.
- Для подачи воздуха используется радиальный вентилятор.
- Минимальная рабочая температура 10oC.
Условный график кривой влагосъема Dantherm CDP 65
Принцип работы
В осушителях производимых компанией Dantherm реализуется конденсационный метод осушения воздуха. Этот принцип используется
и в серии CDP.
Вентилятор нагнетает наружный воздух на холодильно-компрессорный модуль, который охлаждает его до температуры ниже точки россы.
А содержащаяся в нем влага, конденсируется и впоследствии выводится из осушителя. Далее воздух поступает на конденсатор, где он нагревается, после этого нагретый воздух выводится наружу. Воздух, выходящий из осушителя, оказывается на 5oC теплее поступившего. Этот процесс непрерывно и многократно повторяется, в связи с этим в помещении понижается относительная и абсолютная влажность воздуха.
При использовании конденсационного принципа осушения, с ростом температуры, увеличивается влагосъем при расчете не 1 кВт потребляемой энергии. Эффективность конденсационного метода, в полной мере, проявляется при высоких значениях температуры и влажности.
dantherm-ltd.ru
Осушитель воздуха для бассейнов Dantherm CDP 65T – ДЛЯ БАССЕЙНОВ
Отличия от CDP 45T
- Влагосъем (при 25o и 80% RH): 3,45 (л/час);
- Расход воздуха: 750 (м3/ч);
- Высота/Ширина/Глубина: 680/1735/290 (мм);
Описание
Общее описание
Осушитель предназначен для монтажа в плавательных бассейнах и других объектах, в отдельном помещении.
В серии CDP используется конденсационный принцип работы. Воздух из помещения всасывается вентилятором внутрь осушителя, после чего его температура понижается ниже точки росы, таким образом, из воздуха выводится жидкость (вода), после этого он подогревается и подается на выход.
Осушители Dantherm CDP изготовлены с учетом современных энергосберегающих требований. Таким образом, они экономят электричество, а следовательно и Ваши деньги.
Благодаря продуманной конструкции и ряду технических решений компании Dantherm, осушители серии CDP практически бесшумны во время работы. А установка в отдельном помещении, фактически исключает любые шумы.
Осушители оснащены автоматическим электронным управлением и регулируемым гигростатом. Таким образом, Вы можете сами задавать требуемый режим работы. Если Вам необходимо периодически менять уровень влажности в помещении, то рекомендуется дополнительно приобрести и установить выносной комнатный гигростат. Осушитель просто контролировать, он оснащен информативным дисплеем отображающим режимы работы.
Панель управления может быть установлена с любой стороны осушителя. Обслуживание производится через технологическую дверцу.
Функция размораживания контролируется электроникой.
Управляющая электроника осушителя контролирует процесс обмерзания, как только сенсоры испарителя фиксируют обледенение, алгоритмы останавливают работу компрессора, и с помощью вентилятора, к испарителю подается теплый, комнатный воздух. Как только агрегаты оттают, компрессор включается, и осушитель переходит в нормальный режим работы.
Область применения:
- Для различных помещений;
- Частные бассейны;
- Терапевтические бассейны;
- Оздоровительные бассейны;
- Крытые бассейны;
- Душевые;
- SPA-залы;
- Музеи;
- Спортивные залы;
- Погреба;
- Архивы;
- Мастерские.
Конструктивные особенности:
- При изготовлении корпуса применяется горячеоцинкованная сталь, дополнительно защищенная порошковым покрытием.
- Испаритель и конденсатор дополнительно защищены от коррозии.
- Кронштейн, входящий в комплект, позволяет легко монтировать осушитель на стену. Так же к осушителю можно приобрести дополнительный кронштейн, предназначенный для напольного крепления.
- Слив конденсата расположен в нижней части осушителя. К нему может быть подключен шланг диаметром 1/2″ для слива в сточную канализацию.
- В осушителе используются фильтры, расположенные на входе, которые фильтруют проходящий через них воздух. К фильтрам обеспечен удобный доступ, и их можно промывать водой.
- Dantherm CDP 65T оснащен эффективным роторным компрессором.
- Для подачи воздуха используется радиальный вентилятор.
- Минимальная рабочая температура 10oC.
Условный график кривой влагосъема Dantherm CDP 65T
Принцип работы
В осушителях производимых компанией Dantherm реализуется конденсационный метод осушения воздуха. Этот принцип используется
и в серии CDP.
Вентилятор нагнетает наружный воздух на холодильно-компрессорный модуль, который охлаждает его до температуры ниже точки россы.
А содержащаяся в нем влага, конденсируется и впоследствии выводится из осушителя. Далее воздух поступает на конденсатор, где он нагревается, после этого нагретый воздух выводится наружу. Воздух, выходящий из осушителя, оказывается на 5 oC теплее поступившего. Этот процесс непрерывно и многократно повторяется, в связи с этим в помещении понижается относительная и абсолютная влажность воздуха.
При использовании конденсационного принципа осушения, с ростом температуры, увеличивается влагосъем при расчете не 1 кВт потребляемой энергии. Эффективность конденсационного метода, в полной мере, проявляется при высоких значениях температуры и влажности.
dantherm-ltd.ru
Осушитель воздуха Dantherm CDP 65 (характеристики, цена) в Москве
Осушитель воздуха Dantherm CDP 65 по России реализует компания «ИНТЕХ» (Москва). Чтобы получить КП на cdp 65, позвоните по телефону: +7(495) 118-27-34. Отправить заявку
5313 €
| Характеристики DANTHERM CDP65 | |
|---|---|
| Рабочий диапазон – влажность | 40-100 % RH |
| Рабочий диапазон – температура | 10-36 °C |
| Габариты (ВхШхГ) | 800х1800х315 мм |
| Электропитание | 1х220/50 В/Гц |
| Макс. потребляемый ток | 7,2 А |
| Макс. потребляемая мощность | 1,65 кВт |
| Хладагент | R407C |
| Уровень шума (1м) | 51 дБ(А) |
| Вес | 101 кг |
| Цвет | RAL 7044/9016 |
Описание модели DANTHERM CDP65
Конструктивные особенности
– Корпус из горячеоцинкованной стали с дополнительным наружным и внутренним эмалевым покрытием.
– Настенный монтаж с помощью кронштейна, входящего в комплект поставки.
– Сливное отверстие, расположенное внизу осушителя. Дренажный патрубок для подсоединения водяного шланга диаметром Ø 1/2″.
– Фильтр на воздухозаборнике.
– Роторный компрессор.
– Радиальный вентилятор.
– Комплект для напольного монтажа (опция).
Система управления
Автоматическое поддержание требуемого уровня влажности (стандартная уставка ~ 60% RH) обеспечивается с помощью встроенного гигростата. Если предполагается частая переустановка заданного уровня влажности, рекомендуется подключение к агрегату внешнего комнатного гигростата.
Посредством светоиндикации на дисплее панели управления отображаются следующие функциональные состояния:
1. Подача электропитания на осушитель.
2. Процесс осушения – работает компрессор.
3. Неисправность холодильного контура – осушитель автоматически отключается.
4. Индикатор не задействован.
В систему управления осушителей входит пассивное устройство зашиты от обмерзания. После регистрации датчиком испарителя начала обледенения испарителя происходит автоматическая остановка компрессора, вентилятор направляет поток теплого комнатного воздуха на испаритель, в результате образовавшийся лед тает. По окончании режима оттайки компрессор автоматически включается.
Движение воздуха
Кривые влагосъема

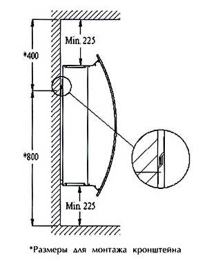
Габаритные размеры, мм :
A-1800; B-1735

Расположение сливного отверстия
Рекомендуемое размещение осушителя

Получите коммерческое предложение на email:
Нужна консультация? Звоните:
8(495) 118-27-34
Отзывы о компании ООО “ИНТЕХ”:
Информация, размещенная на сайте, носит ознакомительный характер и ни при каких условиях не является публичной офертой.
www.air-ventilation.ru
Dantherm CDP 35/45/65 – стационарный осушитель для плавательных бассейнов
Стационарные осушители для плавательных бассейнов Dantherm CDP 35, CDP 45, CDP 65
Для настенного или напольного монтажа, настенного монтажа в отдельном техническом помещении
Конструктивные особенности
- Корпус из горячеоцинкованной стали с дополнительным наружным и внутренним эмалевым покрытием.
- Настенный монтаж с помощью кронштейна, входящего в комплект поставки.
- Сливное отверстие, расположенное внизу осушителя. Дренажный патрубок для подсоединения водяного шланга диаметром 1/2″.
- Фильтр на воздухозаборнике.
- Роторный компрессор.
- Радиальный вентилятор в CDP 35 или радиальные вентиляторы в CDP 45, CDP 65.
- Комплект для напольного монтажа (опция).
Система управления
Автоматическое поддержание требуемого уровня влажности (стандартная уставка ~60% RH) обеспечивается с помощью встроенного гигростата. Если предполагается частая переустановка заданного уровня влажности, рекомендуется подключение к агрегату внешнего комнатного гигростата.
Посредством светоиндикации на дисплее панели управления отображаются следующие функциональные состояния:
1. Подача электропитания на осушитель.
2. Процесс осушения – работает компрессор.
3. Неисправность холодильного контура – осушитель
автоматически отключается.
4. Индикатор не задействован.
В систему управления осушителей CDP 35, CDP 45, CDP 65 входит пассивное устройство защиты от обмерзания. После регистрации датчиком испарителя начала обледенения испарителя происходит автоматическая остановка компрессора, вентилятор направляет поток теплого комнатного воздуха на испаритель, в результате образовавшийся лед тает. По окончании режима оттайки компрессор автоматически включается.
Технические характеристики
|
Единицы измерения |
CDP 35 |
CDP 45 |
CDP 65 |
|
|
Рабочий диапазон – влажность |
% RH |
40-100 |
40 – 100 |
40 – 100 |
|
Рабочий диапазон – температура |
°C |
10-36 |
10 – 36 |
10 – 36 |
|
Расход воздуха |
м3/ч |
250 |
500 |
750 |
|
Параметры электропитания |
В / Гц |
1 x 220 / 50 |
1 x 220 / 50 |
1 x 220 / 50 |
|
Макс. потребляемый ток |
A |
2,8 |
4,3 |
7,2 |
|
Макс. потребляемая мощность |
кВт |
0,72 |
1,05 |
1,65 |
|
Хладагент |
R407C |
R407C |
R407C |
|
|
Количество хладагента |
кг |
0,600 |
0,950 |
1,600 |
|
Уровень шума (1 м) |
дБ(А) |
47 |
49 |
51 |
|
Вес |
кг |
60 |
74 |
101 |
|
Цвет |
RAL |
7044/9016 |
7044/9016 |
7044/9016 |
|
Класс защиты |
IPX4 |
IPX4 |
IPX4 |
Кривые влагосъема
Габаритные размеры *

|
A |
B |
|
|
CDP 35 |
950 |
890 |
|
CDP 45 |
1260 |
1200 |
|
CDP 65 |
1800 |
1735 |
Расположение сливного отверстия
Рекомендуемое размещение осушителей CDP 35, CDP 45 и CDP 65
|
A |
|
|
CDP 35 |
645 |
|
CDP 45 |
950 |
|
CDP 65 |
2 х 745 |
* Все размеры даны в мм.
Аксессуары:
- Комнатный гигростат
- Комплект для напольного монтажа
pool-pro.ru
CDP 35/45/65 – Dantherm
Manuel de montage et d’installati
Localisation de défautsAttention!S
Contrat de service après venteIntr
Общая информацияВв
Принцип действия а
ДисплейКонтроллерC
МонтажВведениеВ да
Монтаж, продолжени
Неисправности и сп
IntroduzionePanoramicaAttenzioneE
Descrizione prodotto e relative fun
DisplaySistema dicontrollo CDG3La s
Istruzioni di montaggio e installaz
Istruzioni di montaggio e installaz
Guida alla ricerca guastiImportante
Contratto di manutenzione/assistenz
Kølekredsløb/Cooling Circuit/Käl
Eldiagram/Wiring diagram/Schaltplan
Ordforklaring/Legend/Legende/Légen
Reservedele/Spare parts/Ersatzteile
Reservedele/Spare parts/Ersatzteile
Reservedele/Spare parts/Ersatzteile
Reservedele/spare parts/Ersatzteile
Reservedele/spare parts/Ersatzteile
Reservedele/spare parts/Ersatzteile
Reservedele/spare parts/Ersatzteile
Reservedele/spare parts/Ersatzteile
Reservedele/spare parts/Ersatzteile
www.yumpu.com
Dantherm CDP 65T
Dantherm CDP 65T &ndash. специальная установка для удаления из воздуха излишней влаги, образующейся при испарении воды в бассейнах, саунах, спортивных залах. Принцип работы осушителя базируется на явлении конденсации паров влаги при мгновенном охлаждении воздуха. Аппарат изготовлен с применением новейших мировых технологий и собственных разработок компании Dantherm.
Особенности осушителя:
- металлический корпус с высокой степенью защиты от влаги и окисления.
- быстрая и легкая для пользователя настройка всех параметров работы устройства.
- постоянный контроль количества влаги в воздухе помещения с помощью встроенного датчика (гигростата).
- автоматический запуск осушителя при повышении влажности в здании выше запрограммированного значения.
- продвинутая система самодиагностики, позволяющая даже неопытному оператору полностью контролировать текущее состояние механизма осушителя.
- минимальный уровень шума в процессе работе установки.
- экономный расход электроэнергии.
Dantherm CDP 65T может успешно использоваться для уменьшения влажности как в маленьких душевых комнатах, так и в просторных бассейнах. Обладая высокой мощностью, осушитель будет эффективно выполнять свою функцию практически в любом помещении.
Монтаж осушителя предполагает наличие отдельного технологического помещения, в котором на одну из стен закрепляется рабочий блок установки. К комнате, которая будет обслуживаться осушителем, подводят несколько воздуховодов для забора влажного и отдачи сухого воздуха. Таким образом, установка не занимает драгоценное место в бассейне или спортзале и не искажает интерьер своим внешним видом. В комплекте с осушителем компания Dantherm заботливо предоставляет покупателю комплект аксессуаров для монтажа и расширения функциональности прибора:
- два воздуховода с вмонтированным фильтром.
- калорифер для подогрева воды.
- комнатный гигростат.
- систему дистанционного оповещения о неисправностях.
Dantherm CDP 65T &ndash. это современный осушитель воздуха, обладающий хорошей производительностью и универсальностью применения.
danthermrus.ru
Dantherm CDP 65T
Преимущества
- Автоматическое поддержание установленного уровня влажности.
- Удобное управление и понятная индикация.
- Защита от обмерзания.
- Атоматический запуск процесса оттайки.
- Автоматическое отключение при выходе температуры за пределы рабочего диапазона (10 – 36 °С).
- Автоматический запуск при возврате температуры в рабочий диапазон (10 – 36 °С).
- Низкий уровень шума.
- Высокая энергоэффективность.
Конструктивные особенности
- Корпус из горячеоцинкованной стали с дополнительным наружным и внутренним эмалевым покрытием.
- Эпоксидное покрытие испарителя и конденсатора.
- Настенный монтаж с помощью кронштейна, входящего в комплект поставки.
- Сливное отверстие, расположенное внизу осушителя.
- Дренажный патрубок для подсоединения водяного шланга диаметром 1/2”.
- Встроенный гигростат.
- Фильтр на воздухозаборнике.
- Роторный компрессор.
- Термокламан.
- Радиальные вентиляторы.
- Воздуховод в комплекте с фильтром и алюминиевыми решетками для стен толщиной от 70 до 350 мм (опция для установки в отдельном техническом помещении).
Работа осушителей CDP 35T-45T-65T является полностью автоматизированной. Они оснащены электронным управлением, встроенным регулируемым гигростатом и дисплеем, на котором отображаются режимы работы агрегата. В систему управления входит пассивное устройство защиты от обмерзания. После регистрации датчиком испарителя начала обледенения испарителя происходит автоматическая остановка компрессора, вентилятор направляет поток теплого комнатного воздуха на испаритель, в результате образовавшийся лед тает. По окончании режима оттайки компрессор автоматически включается.
www.aceng.ru
