ЭПО 2,5-30кВт — электрокотел класса «Стандарт-Эконом»
Электрический котел ЭПО класса «Стандарт-Эконом» – это самая бюджетная модель в ряду отопительных приборов ЭВАН, которая подходит для использования как дома, так и на даче. Снижение цены на прибор на 20% в отличие от следующего за ним класса «Стандарт» достигается за счет отсутствия корпуса, объединяющего котел и пульт управления, при сохранении всех базовых характеристик и возможностей.
Требуемая температура теплоносителя в котле устанавливается встроенным термостатом путем плавной регулировки от 30 до 85 градусов. Кроме того, котлы имеют возможность подключения внешнего термостата, при помощи которого можно регулировать температуру воздуха в помещении. В качестве внешнего термостата может быть использован модуль дистанционного управления котлом GSM-Climate (кроме ЭПО-2,5), который позволяет регулировать температуру в помещении на расстоянии, управлять работой котла и контролировать его исправность.
Для обеспечения безопасности при нагреве до заданной температуры теплоносителя терморегулятор отключает котел и включает его снова после снижения температуры ниже заданной. Для дополнительной защиты от перегрева приборы оснащены самовозвратным аварийным термовыключателем, который, в случае выхода из строя основного терморегулятора отключает котел при достижении теплоносителем температуры 92 градуса. ТЭНы котла ЭПО, как и всех без исключения электрокотлов ЭВАН, сделаны из нержавеющей стали, что повышает срок их службы.
ЭЛЕКТРООТОПИТЕЛЬНЫЙ КОТЕЛ ЭПО 2,5

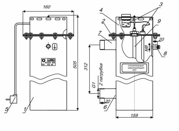
 1 – корпус 
 2 – крышка 
 3 – регулятор температуры теплоносителя 
 4 – защитный кожух 
 5 – шнур с вилкой 
7 – выходной патрубок G ¼
8 – зажим М8 для защитного заземления
9 – трубчатый электронагреватель (ТЭН) из нержавеющей стали
ЭЛЕКТРООТОПИТЕЛЬНЫЙ КОТЕЛ ЭПО 4 – 30

Котел:
 1 – корпус 
 2 – трубчатый электронагреватель (ТЭН) из нержавеющей стали 
 3 – защитный кожух 
 4 – аварийный термовыключатель с самовозвратом в виде температурного реле 
 5 – датчик терморегулятора 
 6 – входной патрубок G1 ¼ 
 7 – выходной патрубок G1 ¼ 
 8 – зажим М8 для защитного проводника РЕ 
 9 – крышка
Приборы ЭПО-7,5;-9,45;-12;-15;-18;-24;-30 комплектуется одним из двух видов пультов управления: трёхступенчатым или одноступенчатым ПУ ЭПО-М1


www.evan.ru
Электроприбор отопительный ЭВАН NEXT-7 (220В)
Электроотопительный котел ЭВАН NEXT-7 класса «Стандарт» предназначен для отопления дач, частных домов,небольших торговых и складских помещений. Может быть использован в качестве как основного, так и резервного
источника тепла. ЭВАН NEXT-7 – оптимальный вариант для использования в качестве резервного источника тепла
при основной работе газового или твердотопливного оборудования.
Котел представляет собой моноблок, объединяющий котел и пульт управления в едином корпусе.
Требуемая температура теплоносителя в котле устанавливается встроенным термостатом путем плавной регулировки от 30 до 85 градусов. 
Трехступенчатое управление мощностью котла.
Для обеспечения безопасности при нагреве до заданной температуры теплоносителя терморегулятор отключает котел 
и включает его снова после снижения температуры ниже заданной. Для дополнительной защиты от перегрева приборы 
оснащены самовозвратным аварийным термовыключателем, который, в случае выхода из строя основного терморегулятора 
отключает котел при достижении теплоносителем температуры 92 градуса.
ТЭНы котла ЭВАН NEXT-7, как и всех без исключения электрокотлов ЭВАН, сделаны из нержавеющей стали, что повышает срок их службы. 
Кроме того, в котлах ЭВАН NEXT реализована блочная конструкция ТЭН на резьбовом соединении, что позволяет существенно упростить его замену.
Для работы в системах с принудительной циркуляцией электроотопительный котел ЭВАН NEXT-7 имеет колодку 
и управлении котел для использования в качестве основного источника тепла в жилых домах, дачах, небольших административных
и складских помещениях. Надежность оборудования в совокупности с невысокой ценой представляют агрегат, уникальный в своем классе.
* Характеристики, внешний вид и комплектация товара могут быть изменены фирмой-производителем без предварительного уведомления.
elektron44.ru
Электроприбор отопительный Эван ЭПО-2.5 (220 В)
Электроотопительный котел Эван ЭПО-2.5 класса «Стандарт-Эконом» ― это самая бюджетная модель в ряду отопительных электроприборов ЭВАН, которая подходит для использования как дома, так и на даче. Снижение цены на прибор на 20% в отличие от следующего за ним класса «Стандарт» достигается за счет отсутствия корпуса, объединяющего котел и пульт управления, при сохранении всех базовых характеристик и возможностей.
*Указанная цена является рекомендованной розницей производителя.
**Звоните или сделайте заказ, чтобы купить отопительный котел ЭВАН ЭПО по лучшей стоимости.
Требуемая температура теплоносителя в котле устанавливается встроенным термостатом путем плавной регулировки от 30 до 85 градусов. Кроме того, котлы имеют возможность подключения внешнего термостата, при помощи которого можно регулировать температуру воздуха в помещении. В качестве внешнего термостата может быть использован модуль дистанционного управления котлом GSM-Climate, который позволяет регулировать температуру в помещении на расстоянии, управлять работой котла и контролировать его исправность.
Для обеспечения безопасности при нагреве до заданной температуры теплоносителя терморегулятор отключает котел и включает его снова после снижения температуры ниже заданной. Для дополнительной защиты от перегрева приборы оснащены самовозвратным аварийным термовыключателем, который, в случае выхода из строя основного терморегулятора отключает котел при достижении теплоносителем температуры 92 градуса. ТЭНы котла ЭПО 2,5, как и всех без исключения электрокотлов ЭВАН, сделаны из нержавеющей стали, что повышает срок их службы.
Особенности электроприбора отопительного ЭВАН ЭПО 2.5
― отсутствие дополнительных эксплуатационных затрат (нет необходимости в запасах, погрузке, разгрузке топлива, чистки дымохода),
― простота установки и обслуживания (не требуется установка бака для топлива и бункера для угля, монтажа дымовой трубы), 
― экологичностъ (бесшумность и чистота при работе),
― независимость от внешних факторов,
― возможность полной автоматизации, 
― не требует отдельного помещения (котельной),
― низкая стоимость инсталляции.
1 – корпус, 2 – крышка, 3 ― регулятор температуры теплоносителя, 4 ― защитный кожух, 5 ― шнур с вилкой,
6 ― входной патрубок G1 ¼, 7 ― выходной патрубок G ¼, 8 ― зажим М8 для защитного заземления,
9 ― трубчатый электронагреватель (ТЭН) из нержавеющей стали.
Информацию по наличию уточняйте при заказе.
nn.tiu.ru