Эжекционный доводчик – Большая Энциклопедия Нефти и Газа, статья, страница 1
Эжекционный доводчик
Cтраница 1
Эжекционный доводчик – элемент высокоскоростной однока-нальной системы кондиционирования воздуха, осуществляющий эжекцию вторичного воздуха из помещения, который предварительно прошел обработку в теплообменнике установки потоком приточного воздуха. [1]
Эжекционные доводчики обычно монтируют в подоконном пространстве обслуживаемого помещения. Воздух от доводчика подается через решетку в подоконной панели. На рис. 96 показана последовательность монтажа эжекционного доводчика. [2]
Эжекционные доводчики обычно монтируют в под оконном пространстве обслуживаемого помещения. Воздух от доводчика подается через решетку в подоконной панели. На рис. 121 показана последовательность монтажа эжекционного доводчика. Воздуховод, имеющий патрубок для подсоединения к доводчику, монтируется на опорах, лежащих на полу. [3]
Эжекционные доводчики ( рис. 18, а) служат для подогрева или охлаждения воздуха в системах кондиционирования. Приготовленный в центральном кондиционере воздух, называемый первичным, подается к эжекционным доводчикам, установленным в каждом помещении. Таким образом создается местная рециркуляция. Перед смешением вторичный воздух, проходя через теплообменник 3 ( см. рис. 18, а), нагревается или охлаждается. Холодная или горячая вода, охлаждающая или нагревающая воздух, подается к теплообменнику из установок теплоснабжения или холодоснабжения. [4]
Эжекционный доводчик присоединяется к приточным воздуховодам с помощью гибких патрубков диаметром 100 мм и длиной 600 мм, поставляемых заводом комплектно с доводчиком. Трубопроводы тепло – и холодоснабжения прокладывают к доводчику из стальных труб слесари-сантехники. При этом они устанавливают индивидуальный регулятор температуры, отключающую арматуру и обратные клапаны. [5]
Эжекционные доводчики устанавливают по различным схемам; в данном учебнике рассмотрен наиболее распространенный вариант, когда эжекционные доводчики монтируют на одном этаже в каждом помещении. [7]
Эжекционные доводчики небольшой массы и габаритов доставляют к месту монтажа грузовыми лифтами или подъемниками, а к месту установки – вручную. [8]
Нагревателям эжекционных доводчиков, подогретый ДО параметров точки 11, где, эжектируя воздух помещения, заставляет его пройти через поверхностный нагреватель. [10]
Монтаж эжекционных доводчиков осуществляется в подоконном пространстве помещения. Воздух от доводчика подается через решетку в подоконной панели. [11]
Монтаж эжекционных доводчиков начинают с установки металлического каркаса, который заделывают в строительные конструкции. К металлическому каркасу, выполненному из уголков, крепят доводчики и трубопроводы, а также декоративные деревянные подоконные панели. Доводчики и трубопроводы крепят к каркасу с помощью электросварки, а деревянные детали – шурупами. [12]
При применении эжекционных доводчиков изменять производительность посредством изменения температуры подаваемого теплоносителя Тп сложно. Изменяя весовую скорость подачи теплоносителя, тем самым можно регулировать величину мощности потока теплоносителя G в единицу времени при разности температуры в 1 С. [13]
При применении эжекционных доводчиков изменять производительность теплообменника посредством изменения температуры подаваемого теплоносителя Тп нецелесообразно. [14]
Целесообразно в местных эжекционных доводчиках охлаждение воздуха проводить без его осушения, возложив последнее на центральный кондиционер. Это позволит избежать устройства дренажных трубопроводов от кондиционера, а также ле изолировать трубопроводы холодной воды, проходящие через охлаждаемые помещения. [15]
Страницы: 1 2 3 4
www.ngpedia.ru
Эжекционный доводчик – это… Что такое Эжекционный доводчик?
- Эжекционный доводчик
45. Эжекционный доводчик
Элемент высокоскоростной одноканальной системы кондиционирования воздуха, осуществляющий эжекцию вторичного воздуха из помещения, который предварительно прошел обработку в теплообменнике установки, потоком приточного воздуха
Словарь-справочник терминов нормативно-технической документации. academic.ru. 2015.
- Эжекционный воздухораспределитель
- Эйдельман С
Смотреть что такое “Эжекционный доводчик” в других словарях:
эжекционный доводчик — Элемент высокоскоростной одноканальной системы кондиционирования воздуха, осуществляющий эжекцию вторичного воздуха из помещения, который предварительно прошел обработку в теплообменнике установки, потоком приточного воздуха. [ГОСТ 22270 76]… … Справочник технического переводчика
встраиваемый в пол эжекционный доводчик — [Интент] Тематики вентиляция в целомкондиционирование воздуха в целом EN under floor induction unit … Справочник технического переводчика
подоконный эжекционный доводчик — [Интент] Тематики вентиляция в целомкондиционирование воздуха в целом EN under sill induction unit … Справочник технического переводчика
Доводчик, эжекционный — Эжекционный доводчик Элемент высокоскоростной одноканальной системы кондиционирования воздуха, осуществляющий эжекцию вторичного воздуха из помещения, который предварительно прошел обработку в теплообменнике установки, потоком приточного воздуха… … Словарь ГОСТированной лексики
ГОСТ 22270-76: Оборудование для кондиционирования воздуха, вентиляции и отопления. Термины и определения — Терминология ГОСТ 22270 76: Оборудование для кондиционирования воздуха, вентиляции и отопления. Термины и определения оригинал документа: 40. Абсорбционный осушитель воздуха Осушитель воздуха, в котором снижение влагосодержания воздуха происходит … Словарь-справочник терминов нормативно-технической документации
ГОСТ 22270-76. ОБОРУДОВАНИЕ ДЛЯ КОНДИЦИОНИРОВАНИЯ ВОЗДУХА, ВЕНТИЛЯЦИИ И ОТОПЛЕНИЯ. ТЕРМИНЫ И ОПРЕДЕЛЕНИЯ (СТ СЭВ 2145-80) — Агрегат, вентиляторный Агрегат, вентиляционно вытяжной Агрегат, вентиляционно приточный Агрегат, вентиляционный Агрегат, воздухоосушительный … Словарь ГОСТированной лексики
normative_reference_dictionary.academic.ru
Эжекционный доводчик – Большая Энциклопедия Нефти и Газа, статья, страница 4
Эжекционный доводчик
Cтраница 4
Системы кондиционирования воздуха весьма разнообразны: они бывают прямоточными и с частичной рециркуляцией, одно-зональные и многозональные, одноканальные и многоканальные, с эжекционными доводчиками и др. Здесь рассмотрим только основные виды систем. [47]
К тепломеханическому оборудованию установок промышленной вентиляции и кондиционирования воздуха относятся вентиляторы, кондиционеры, приточные камеры заводского изготовления, воздушные завесы, калориферы, эжекционные доводчики, а также оборудование для очистки воздуха. [48]
Центральные системы кондиционирования воздуха весьма разнообразны: они бывают прямоточными и с частичной рециркуляцией, однозональные и многозональные, одноканальные и многоканальные, с эжекционными доводчиками др. Здесь рассмотрим только основные виды систем. [49]
Принципиальная схема подключения регулятора к системе теплоснабжения эжекционных доводчиков показана на рис. IV.76. Подающий трубопровод горячей воды имеет два отвода, которые присоединяются к верхнему входному штуцеру трехходового клапана и к нижнему патрубку двухрядного теплообменника
Наружный воздух ( точка /) подогревается в калорифере первого подогрева ( точка 2), адиабатически охлаждается и увлажняется ( точка 5), подогрС вается в калорифере второго подогрева ( точка 4) и с этими параметрами выходит через сопла эжекционного доводчика. Эжек-тируемый воздух помещения ( точка 5) нагревается в теплообменнике доводчика ( точка б) и смешивается с воздухом, выходящим из сопл. Смесь воздуха ( точка 7) поступает в помещение, охлаждается и принимает параметры воздуха помещения. [51]
Таким образом создается местная рециркуляция. Эжекционные доводчики обычно монтируют в подоконном пространстве. [52]
Эжекционный кондиционер-доводчик ( рис. 14, а) служит для подогрева или охлаждения воздуха в системах кондиционирования воздуха многоэтажных административных и общественных зданий. Эжекционные доводчики размещают в строительной конструкции оконного проема. Таким образом создается местная рециркуляция. [53]
Отечественный опыт проектирования и эксплуатации водовоздушных эжекцихшных систем весьма ограничен. Эжекционные доводчики выпускаются в малых количествах и поэтому обходятся дорого, терморегуляторы непосредственного действия изготовляются мелкими сериями на опытном заводе, вследствие чего их стоимость высока. Все это не позволяет объективно оценить экономические показатели водовоздушных эжекционных систем и наметить масштабы их внедрения. [54]
Схема одной из разновидностей такой системы показана на рис. XXI.30. Первичный воздух, обработанный в центральном кондиционере, направляется в систему воздуховодов. Из эжекционного доводчика первичный воздух выходит через сопла со скоростью до 20 м / с, тем самым эжектируя вторичный воздух из помещения. Вторичный воздух проходит через теплообменник, в котором в зависимости от необходимости подогревается или охлаждается. Смесь первичного и вторичного воздуха поступает в помещение. [55]
Так как в поверхностном теплообменнике нагрев хо) – лодоноснтеля зо много раз меньше охлаждения теплоносителя, то при повышении температуры атмосферного воздуха выше 12 С необходимо увеличить количество охлажденной воды, подаваемой в поверхностный теплообменник. Увеличение давления перед поверхностным охладителем эжекционного доводчика осуществляется дополнительным насосом, устанавливаемым на линии трубопровода, подающего воду через поверхностный охладитель. [56]
Система состоит из центрального кондиционера и эжекционных доводчиков, установленных непосредственно в обслуживаемых помещениях, как правило, под окнами. В зависимости от назначения кондиционируемых помещений и предъявляемых к ним требований применяют зональное или индивидуальное регулирование температуры воздуха. [57]
Страницы: 1 2 3 4
www.ngpedia.ru
эжекционные и вентиляторные доводчики. — Студопедия.Нет
С эжекционными кондиционерами-доводчиками
Схема СКВ с эжекционными кондиционерами-доводчиками: 1 — помещения; 2 — центральный кондиционер; 3 — вытяжной вентилятор; 4 — воздухозабор; 5 — эжекционный кондиционер-доводчик; 6 — регулирующий клапан на обратном трубопроводе. Центрально-местная система с эжекционными кондиционерами-доводчиками получила распространение в СССР. В этой разновидности водовоздушной системы в качестве местных агрегатов используют эжекционный кондиционер-доводчик. В настоящее время выпускают индукционные устройства для работы в системах вытесняющей вентиляции, принцип работы которых подобен принципу работы эжекционных кондиционеров доводчиков. Такие системы находят применение для помещений с особыми требованиями по шуму, а также для взрывоопасных помещений.
Центральная система кондиционирования воздуха обеспечивает подачу в эжекционный кондиционер-доводчик 5, установленный в помещении, первичного воздуха. Эжекционный кондиционер-доводчик (ЭКД) имеет встроенный теплообменник для охлаждения или нагревания рециркуляционного воздуха, в трубках которого циркулирует соответственно холодная или горячая вода. Подача и смешение рециркуляционного воздуха обеспечивается за счет эффекта эжекции при движении первичного воздуха через сопла с высокой скоростью. Смесь охлажденного или нагретого рециркуляционного воздуха с первичным, обработанным в центральном кондиционере 2, поступает в помещения. К теплообменникам эжекционних доводчиков подводится холодная или горячая вода через систему трубопроводов, которая может быть чаще всего двух- и четырехтрубной. Четырехтрубная система обеспечивает включение холодо- и теплоносителя в любой доводчик в любое время, а при двухтрубной системе — только сезонное общее, пофасад-ное или групповое включение. Горячая и холодная вода подается к теплообменникам ЭКД от центральных источников тепло- и холодоснабжения. Регулирование температуры воздуха в помещении осуществляется изменением расхода холодо- теплоносителя с помощью регулирующего клапана 6 на обратном трубопроводе, встроенного в эжекционный доводчик, по сигналу датчика температуры воздуха в помещении. (http://www.prioritetinvest.ru/tsentralnye-sistemy-konditsionirovaniya-vozdukha-v-zdaniyakh-str112.html)
Вентиляторный доводчик (фанко́йл)— приёмник охлаждённого или нагретого носителя локального типа (воды, незамерзающей смеси) — оконечный элемент систем кондиционирования воздуха типа чиллер-фанкойл или систем отопления, предназначенный для рециркуляции и охлаждения воздуха в кондиционируемом помещении. Основное предназначение — отопление или охлаждение помещений, устройство тепловых завес.
Принципиальная схема одноканальной системы кондиционирования воздуха низкого давления: 1 — воздушный клапан в канале наружного воздуха; 2 — канал рециркулируемого воздуха; 3 — воздушный фильтр; 4 — воздухоподогреватель; 5 — форсуночная камера; 6 — центробежный насос с электродвигателем; 7 — аппарат для регулирования производительности вентилятора; 8 — электродвигатель; 9 — центробежный вентилятор; 10 — шумоглушитель; 11 — канал подачи воздуха; 12 — местный воздухоподогреватель; 13 — канал отработанного воздуха; 14 — осевой вентилятор с электродвигателем; 15 — шахта для удаления отработанного воздуха в атмосферу; 16 — воздушный клапан; 17 — клапан на трубопроводе подачи холодоносителя.
ФК состоит из радиатора (теплообменника), по которому циркулирует нагретая или охлаждённая (в зависимости от задачи системы) жидкость непосредственно перед создающим воздушный поток вентилятором. При прохождении через радиатор воздух передаёт тепло или холод помещению. Теплоносителем служит централизованно охлаждаемая/нагреваемая вода или незамерзающий водный раствор этиленгликоля. В самом фанкойле находится только теплообменник (водяной радиатор) и вентилятор, прокачивающий через него комнатный воздух. В более сложных системах фанкойл может также обеспечивать приточную вентиляцию (смешение воздуха помещения с наружным воздухом, поступающим от крышного кондиционера), и обогрев помещения (в этом случае внутри фанкойла может использоваться несколько теплообменников).
Наиболее распространены потолочные (канальные или кассетные) доводчики, монтируемые в стандартные ячейки подвесного потолка (600 х 600 мм). Как правило, каждое кондиционируемое/отапливаемое помещение имеет локальный блок автоматики с возможностью централизованного перехвата управления (например, в особо жаркие дни, когда производительность системы оказывается недостаточной).
Существуют настенные и напольные конструктивы, а также полностью скрытые фанкойлы, соединяемые с помещением вентиляционной решёткой или раструбом.
Вентиляторный доводчик, через теплообменник которого постоянно прокачивается вода, охлаждает/нагревает воздух постоянно — даже тогда, когда его вентилятор выключен. Чтобы избежать этого, используются обходные трубы и вентили с термоэлектрическим приводом, отключающие фанкойлы от водяной разводки.
+ ФК обеспечивает лучшую циркуляцию воздуха, чем радиаторы отопления. Позволяет использовать отопительные приборы меньшего размера или уменьшить температуру теплоносителя. При использовании ФК возможно эффективно производить отопление выходов из помещения с большим людским потоком, например, входов торговых центров, метро и т. п.
– Наличие вентилятора повышает уровень шума, понижает надёжность по сравнению с пассивными приборами отопления (радиаторами).
https://ru.wikipedia.org/wiki/%D0%92%D0%B5%D0%BD%D1%82%D0%B8%D0%BB%D1%8F%D1%82%D0%BE%D1%80%D0%BD%D1%8B%D0%B9_%D0%B4%D0%BE%D0%B2%D0%BE%D0%B4%D1%87%D0%B8%D0%BA
studopedia.net
доводчик эжекционный – патент РФ 2262042
Изобретение предназначено для систем отопления, вентиляции и кондиционирования воздуха в промышленных, гражданских и жилых зданиях, имеющих централизованное или локальное снабжение первичным воздухом, тепло- и холодоносителем. Доводчик эжекционный включает камеру первичного воздуха с входным патрубком, присоединяемую к приточному воздуховоду, камеру смешения первичного и рециркуляционного воздуха, теплообменник из оребренных трубок, присоединяемых штуцерами к трубопроводам центральной системы снабжения теплом и холодом. Доводчик имеет сопловые блоки, установленные на стенке камеры первичного воздуха и имеющие различное количество проходных и непроходных сопел, в зависимости от необходимого объема подаваемого воздуха, а на входе первичного воздуха во входной патрубок устанавливается перфорированная шайба, регулирующая давление приточного воздуха в камере первичного воздуха. Техническим результатом изобретения является значительное упрощение конструкции в целом и повышение ее надежности. 3 ил. 
Рисунки к патенту РФ 2262042
Изобретение предназначено для систем отопления, вентиляции и кондиционирования воздуха в промышленных, гражданских и жилых зданиях, имеющих централизованное или локальное снабжение первичным воздухом, тепло- и холодоносителем.
Известна конструкция доводчика эжекционного (Кокорин О.Я., Ставицкий Л.И., Кронфильд Я.Г. Кондиционирование воздуха в многоэтажных зданиях. – М.: Стройиздат, 1981), включающая камеру первичного воздуха с входным патрубком, присоединяемую к приточному воздуховоду, камеру смешения первичного и рециркуляционного воздуха, теплообменник из оребренных трубок, присоединяемых штуцерами к трубопроводам системы снабжения теплом и холодом.
Недостатком известной конструкции доводчика эжекционного является применение дроссельного клапана для регулирования расхода первичного воздуха через сопловые панели, при закрытии которого увеличивается аэродинамическое сопротивление и сокращается расход первичного воздуха через сопла, что приводит к бесполезной потере энергии потока первичного воздуха и может вызвать повышенный шум от дросселирования воздушного потока.
Задачей изобретения является устранение недостатков известной конструкции эжекционного доводчика, а также значительное упрощение конструкции в целом и повышение ее надежности.
Технический результат изобретения достигается тем, что доводчик эжекционный содержит камеру первичного воздуха с входным патрубком, присоединяемую к приточному воздуховоду, камеру смешения первичного и рециркуляционного воздуха, теплообменник из оребренных трубок, присоединяемых штуцерами к трубопроводам системы снабжения теплом и холодом, причем отдельные взаимозаменяемые сопловые блоки установлены на стенке камеры первичного воздуха, при этом блоки имеют различное количество проходных и непроходных сопел в зависимости от необходимого объема подаваемого воздуха, а на входе первичного воздуха во входной патрубок устанавливается перфорированная шайба, регулирующая давление приточного воздуха в камере первичного воздуха.
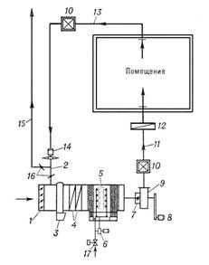
На фиг.1 (вид спереди) представлена принципиальная схема предлагаемой конструкции доводчика эжекционного; на фиг.2 и 3 – вид доводчика эжекционного сбоку и сверху соответственно.
Доводчик эжекционный содержит камеру 1 первичного воздуха с входным патрубком 2, присоединяемую к приточному воздуховоду (не показано), камеру 3 смешения первичного и рециркуляционного воздуха, теплообменник 4 из оребренных трубок 5, присоединяемых штуцерами 6 к трубопроводам системы снабжения теплом и холодом (не показано). Отдельные взаимозаменяемые сопловые блоки 2 установлены на стенке камеры 1 первичного воздуха. Блоки имеют различное количество проходных и непроходных сопел в зависимости от необходимого объема подаваемого воздуха, а на входе первичного воздуха во входной присоединительный патрубок 2 установлена перфорированная шайба (не показано), регулирующая давление приточного воздуха в камере 1 первичного воздуха.
Доводчик эжекционный работает следующим образом: первичный приточный наружный воздух от центрального или локального приточного агрегата поступает через входной патрубок 2 в камеру 1 первичного воздуха. Из камеры 1 через отверстия в блоках 7 эжектирующих сопел первичный воздух поступает в камеру смешения 3, создавая в ней эффект эжекции. В результате эжектирующего действия воздух из помещения засасывается в камеру смешения 3 через теплообменник 4, нагревается или охлаждается в зависимости от режима работы теплообменника. В камере смешения 3 доводчика воздух из помещения, прошедший через теплообменники, смешивается со свежим первичным (наружным) воздухом, подаваемым централизованно или локально по воздуховоду, присоединенному к входному патрубку 2. Из камеры 3 воздушная смесь поступает в помещение через приточные решетки, обычно располагаемые в отверстиях подоконника или лицевой панели подоконной ниши (на схеме не показано). Объем первичного воздуха Lпн, поступающего в камеру 3, регулируется изменением соотношения проходных и непроходных сопел, располагаемых на верхней стенке камеры 1. При необходимости снижения избыточного давления потока первичного воздуха Lпн перед эжекционным доводчиком во входной патрубок 2 вставляется перфорированная шайба, которая подбирается в зависимости от требуемого снижения давления потока первичного воздуха на входе в доводчик эжекционный.
ФОРМУЛА ИЗОБРЕТЕНИЯ
Доводчик эжекционный, включающий камеру первичного воздуха с входным патрубком, присоединяемую к приточному воздуховоду, камеру смешения первичного и рециркуляционного воздуха, теплообменник из оребренных трубок, присоединяемых штуцерами к трубопроводам системы снабжения теплом и холодом, отличающийся тем, что отдельные взаимозаменяемые сопловые блоки установлены на стенке камеры первичного воздуха, при этом блоки имеют различное количество проходных и непроходных сопел в зависимости от необходимого объема подаваемого воздуха, а на входе первичного воздуха во входной патрубок установлена перфорированная шайба, регулирующая давление приточного воздуха в камере первичного воздуха.
www.freepatent.ru
Доводчик, эжекционный – это… Что такое Доводчик, эжекционный?
- Доводчик, эжекционный
Эжекционный доводчик
Элемент высокоскоростной одноканальной системы кондиционирования воздуха, осуществляющий эжекцию вторичного воздуха из помещения, который предварительно прошел обработку в теплообменнике установки, потоком приточного воздуха
Смотреть все термины ГОСТ 22270-76. ОБОРУДОВАНИЕ ДЛЯ КОНДИЦИОНИРОВАНИЯ ВОЗДУХА, ВЕНТИЛЯЦИИ И ОТОПЛЕНИЯ. ТЕРМИНЫ И ОПРЕДЕЛЕНИЯ
Словарь ГОСТированной лексики. Составитель niccolo. 2010.
- Доводчик, прямоточный
- Дозатор насоса
Смотреть что такое “Доводчик, эжекционный” в других словарях:
эжекционный доводчик — Элемент высокоскоростной одноканальной системы кондиционирования воздуха, осуществляющий эжекцию вторичного воздуха из помещения, который предварительно прошел обработку в теплообменнике установки, потоком приточного воздуха. [ГОСТ 22270 76]… … Справочник технического переводчика
Эжекционный доводчик — 45. Эжекционный доводчик Элемент высокоскоростной одноканальной системы кондиционирования воздуха, осуществляющий эжекцию вторичного воздуха из помещения, который предварительно прошел обработку в теплообменнике установки, потоком приточного… … Словарь-справочник терминов нормативно-технической документации
встраиваемый в пол эжекционный доводчик — [Интент] Тематики вентиляция в целомкондиционирование воздуха в целом EN under floor induction unit … Справочник технического переводчика
подоконный эжекционный доводчик — [Интент] Тематики вентиляция в целомкондиционирование воздуха в целом EN under sill induction unit … Справочник технического переводчика
ГОСТ 22270-76. ОБОРУДОВАНИЕ ДЛЯ КОНДИЦИОНИРОВАНИЯ ВОЗДУХА, ВЕНТИЛЯЦИИ И ОТОПЛЕНИЯ. ТЕРМИНЫ И ОПРЕДЕЛЕНИЯ (СТ СЭВ 2145-80) — Агрегат, вентиляторный Агрегат, вентиляционно вытяжной Агрегат, вентиляционно приточный Агрегат, вентиляционный Агрегат, воздухоосушительный … Словарь ГОСТированной лексики
ГОСТ 22270-76: Оборудование для кондиционирования воздуха, вентиляции и отопления. Термины и определения — Терминология ГОСТ 22270 76: Оборудование для кондиционирования воздуха, вентиляции и отопления. Термины и определения оригинал документа: 40. Абсорбционный осушитель воздуха Осушитель воздуха, в котором снижение влагосодержания воздуха происходит … Словарь-справочник терминов нормативно-технической документации
gost_lexicon.academic.ru
эжекционный доводчик – это… Что такое эжекционный доводчик?
- эжекционный доводчик
эжекционный доводчик
Элемент высокоскоростной одноканальной системы кондиционирования воздуха, осуществляющий эжекцию вторичного воздуха из помещения, который предварительно прошел обработку в теплообменнике установки, потоком приточного воздуха.
[ГОСТ 22270-76]Тематики
- кондиционирование воздуха в целом
EN
- induction terminal
- induction unit
Справочник технического переводчика. – Интент. 2009-2013.
- эжекционный воздухораспределитель
- эжекция
Смотреть что такое “эжекционный доводчик” в других словарях:
Эжекционный доводчик — 45. Эжекционный доводчик Элемент высокоскоростной одноканальной системы кондиционирования воздуха, осуществляющий эжекцию вторичного воздуха из помещения, который предварительно прошел обработку в теплообменнике установки, потоком приточного… … Словарь-справочник терминов нормативно-технической документации
встраиваемый в пол эжекционный доводчик — [Интент] Тематики вентиляция в целомкондиционирование воздуха в целом EN under floor induction unit … Справочник технического переводчика
подоконный эжекционный доводчик — [Интент] Тематики вентиляция в целомкондиционирование воздуха в целом EN under sill induction unit … Справочник технического переводчика
Доводчик, эжекционный — Эжекционный доводчик Элемент высокоскоростной одноканальной системы кондиционирования воздуха, осуществляющий эжекцию вторичного воздуха из помещения, который предварительно прошел обработку в теплообменнике установки, потоком приточного воздуха… … Словарь ГОСТированной лексики
ГОСТ 22270-76: Оборудование для кондиционирования воздуха, вентиляции и отопления. Термины и определения — Терминология ГОСТ 22270 76: Оборудование для кондиционирования воздуха, вентиляции и отопления. Термины и определения оригинал документа: 40. Абсорбционный осушитель воздуха Осушитель воздуха, в котором снижение влагосодержания воздуха происходит … Словарь-справочник терминов нормативно-технической документации
ГОСТ 22270-76. ОБОРУДОВАНИЕ ДЛЯ КОНДИЦИОНИРОВАНИЯ ВОЗДУХА, ВЕНТИЛЯЦИИ И ОТОПЛЕНИЯ. ТЕРМИНЫ И ОПРЕДЕЛЕНИЯ (СТ СЭВ 2145-80) — Агрегат, вентиляторный Агрегат, вентиляционно вытяжной Агрегат, вентиляционно приточный Агрегат, вентиляционный Агрегат, воздухоосушительный … Словарь ГОСТированной лексики
technical_translator_dictionary.academic.ru