Правильное подключение полотенцесушителя
Ванная — помещение, где требуется повышенная температура. Во-первых, по ощущениях так комфортнее, во-вторых, теплый воздух быстрее унесет излишнюю влажность после принятия душа или ванны. Отопление в ванной делают нечасто — не принято. Более распространенный способ — установка полотенцесушителя, о чем и поговорим дальше. Чтобы все работало без проблем, требуется правильно выбрать схему подключения, да еще ее правильно реализовать. И во всем вам придется разбираться самостоятельно. Ведь даже если вы не будете делать все своими руками, следить за сантехниками придется. Только так можно быть уверенным в том, что вам оставят нормально работающую сушилку.

Чтобы все не только выглядело хорошо, но и работало без проблем, надо правильно проложить подводку
Какие конструкции бывают
Полотенцесушители есть разных форм. При их выборе люди часто руководствуются исключительно эстетикой, что не совсем оправданно. Приборы эти нормально работают при хорошей циркуляции воды, но далеко не все модели такую циркуляцию обеспечивают. С некоторыми приходится долго мудрить, подыскивая правильную схему подключения, иначе они просто отказываются работать.
Итак, все полотенцесушители можно разделить на четыре группы:
Очень часто бывает так, что после установки полотенцесушителя он просто не работает. Если ошибка серьезная, работать перестает также и стояк, к которому он подключен. Потому необходимо знать и выполнять правила подключения.
Куда подключить и где повесить
Подключить водяной полотенцесушитель можно и к стояку горячей воды и к отоплению. Если есть оба эти варианта, выбирают обычно ГВС. На это есть три причины: меньше мороки с разрешением на подключение, подключать можно в любое время года (договориться с УК об отключении стояка и все) и, самое важное, — греется такой полотенцесушитель круглый год.
Если же ГВС в доме нет, придется подключатся к стояку отопления. Для этого требуется разрешение УК и проект. Покупаете полотенцесушитель (желательно простой конструкции), идете в ЖЭК с его паспортом (копией), пишите заявление. Если разрешение дают, заказываете проект (тоже нужна будет копия паспорта с подосоединительными размерами). Потом, согласно проекта, выполняете сами или нанимаете исполнителей (сантехников из ЖЭКа, как вариант). Вызываете представителей ЖЭКа для приемки.

Чтобы «полотенчик» грелся всегда и без проблем, все подводы прямые, без дуг и карманов
При определении места установки полотенцесушителя могут еще возникать вопросы о том, на какой высоте его стоит вешать. Если есть выбор, удобнее всего располагать так, чтобы он находится на уровне головы и ниже. Это если ставите П-образную или змейку. Если речь идет о «лесенках» большой высоты, верхнюю планку располагают не уровне накала кисти поднятой руки (примерно 190-200 см).
При выборе места установки полотенцесушителя надо еще учитывать удаленность от стояка. В принципе, чем ближе к стояку, тем лучше — больше шансов на то, что работать будет. Но, можно отнести и на метр или около того, только при выполнении условий:
- малого гидравлического сопротивления полотенцесушителя (простая форма и сечение 1″ или 3/4″),
- достаточного давления (2 атм или больше)
- отвода трубами нормального диаметра (на шаг меньше чем стояк).
При этом обязательно выполнять и другие правила подключения. Тогда будут шансы а то, что работать такой «удаленный» прибор будет нормально.
Чем делать отводы и как поменять стояк
Если стояк металлический и менять его вы не собираетесь, то установка полотенцесушителя возможна стальными или полипропиленовыми трубами. Если стояк вы меняете (лучший вариант) и ставите полипропилен, выбора нет — ППР трубы идут и на отводы. Полипропилен брать для горячей воды, лучше — армированный стеклотканью.
Почему не подходит металлопластик? Потому что фитинги у него с сильным заужением просвета. Это очень плохо сказывается на циркуляции. В результате даже 100% работоспособные схемы не дают нормального нагрева.

Установка полотенцесушителя с разводкой полоипропиленовыми трубами
Немного о том, зачем менять стояк. Это имеет смысл делать в старых домах при ремонте в ванной или санузле (смотря где у вас расположен стояк). Во-первых, трубы обычно уже старые и изношенные. К ним даже отвод бывает проблематично приварить, настолько металл износился. Во-вторых, современный ремонт предполагает скрытую прокладку коммуникаций и вы тоже захотите стояк закрыть. Прятать старую трубу, а через несколько лет все снова рушить… не самое хорошее решение.
Немного о том, как менять. Вам надо договориться с соседями снизу и сверху, а также с ЖЭКом (ДЭЗ, УК). С соседями о том, что вы отрежете стояк у них и на резьбе установите новый. Почему у них? Потому что оставлять старую трубу в перекрытии опасно: разрушится и потечет. Затопит вас или соседей снизу. Потому лучше через перекрытия пройти новой трубой.

При таком подключении сушилка — часть стояка и никаких кранов быть не может
Договорившись или нет с соседями (у них может стояк уже закрыт) идете в ЖЭК и договариваетесь о дате замены и времени, на которое стояк отключат. Работать могут «местные» слесаря, вы сами (при наличии квалификации сварщика) или нанятые вами люди. После врезки, воду включают, вы проверяете работоспособность полотенцесушителя и системы в целом. Если за 30 минут он не начнет остывать, значит поставлен правильно. На этом замена или установка полотенцесушителя завершена.
С байпасом или без
Начнем с того, что такое байпас. Это перемычка между входом и выходом прибора, которая обеспечивает циркуляцию воды при выходе прибора из строя или его отключении.

Перемычка между входом и выходом полотенцесушителя и есть байпас
Если с схеме есть байпас, на входе и выходе прибора можно ставить отсечные шаровые краны. Это удобно — можно при необходимости отключить (при ремонте или замене) и не перекрывать весь стояк.
Если такой перемычки нет, никаких кранов ставить нельзя. В этом случае полотенцесушитель — часть стояка, закрывая краны вы полностью перекрываете стояк.

При подключении без байпаса никаких кранов
Байпас может быть прямым (как на первом фото в главе) или смещенным (на фото ниже). Смещенную перемычку ставят при верхней подаче теплоносителя для лучшей работы (улучшается циркуляция). При нижней подаче смещение только мешает. Если вы не знаете, откуда подается вода, лучше делайте прямой байпас.

Смещенный байпас при верхней подаче теплоносителя улучшает циркуляцию
Еще байпасы (прямые или смещенные) делают зауженными. Заужение, также как и смещение улучшает циркуляцию, но только в случае с верхней подачей. Заужение делают трубой, которая на шаг меньше основного (если стояк дюймовый, узкое место делают 3/4″). Меньше нельзя. Размер вставки — не менее 10 см.
Еще раз: смещенный и/или зауженный байпас работает только при верхней подаче воды. При нижней он мешает циркуляции. Если не уверены, делайте байпас прямым и незауженным.
Категорически нельзя на байпасе ставить краны. Каждый кран — это потери давления, а значит, он ухудшает циркуляцию всего стояка, вода течет уже не такая горячая. У всех соседей выше или ниже (зависит от направления подачи) заметно ухудшается напор. Иногда он падает и у владельца байпаса с краном. Ко всему, это абсолютно ненужная деталь, которая приносит только вред, а сколько-нибудь заметного улучшения циркуляции в полотенцесушителе не наблюдается. Ну, и кроме того, это нарушение СНиП 31-01-2003 (п 10.6) — вмешательство в общедомовые коммуникации, за что может быть выписан штраф (немалый).
Как располагать отводы (способы подключения)
При боковом и диагональном подключении отводы должны располагаться на одном уровне со входами полотенцесушителя или чуть выше/ниже. Что точно не будет работать, так это установка полотенцесушителя если отводы расположены на расстоянии меньшем, чем расстояние между входами. На фото ниже пример нерабочего диагонального подключения с близко расположенными отводами. Черным обозначен вариант ее исправления (подача верхняя).

При боковом подключении полотенцесушитель будет работать только если отводы находятся чуть выше и чуть ниже его входов или хотя-бы на одном уровне
При подключении надо отводы располагать строго горизонтально или немного под углом. Немного под углом — это от 2 см на метр (2%) или можно чуть больше. Направление уклона зависит от схемы подключения и того, к какому концу этот отвод будет подсоединен. Чтобы было немного понятнее, рассмотрим несколько типовых схем подключения полотенцесушителей.
Универсальное нижнее подключение полотенцесушителя «лесенки»
Эта схема работает независимо от направления подачи горячей воды. Тип подключения — нижний, оба отвода должны располагаться ниже чем нижний край сушилки. При верхней подаче допустим вариант, когда край находится между отводами, но работа уже может быть не настолько эффективной (может хуже греться).

Универсальное подключение полотенцесушителя (нижнее)
В данной схеме можно ставить отсечные краны. Для ее нормальной работы необходимы:
- Установленные на верхних выводах краны Маевского (воздухоотводчики) для спуска скапливающегося в верхней части воздуха. Их надо будет периодически открывать и спускать воздух (как начинает хуже греться). Есть вариант — поставить автоматические воздухоотводчики. Они тоже есть компактные. Это упростит эксплуатацию.
- Байпас прямой с заужением. Размер заужения — трубой на один шаг меньшего диаметра.
- Отводы выполняются трубой на шаг меньшего диаметра чем основной стояк.
Если у вас по высоте проходит этот вариант, делайте его. Схема работает в любых условиях, с полотенцесушителями типа «лесенка» любого вида.
Возможный вариант нижнего подключения для подачи сверху
При разливе горячей воды сверху, можно верхний отвод сделать выше нижнего края сушилки. При смещенном байпасе и его заужении греться должно нормально. Этот способ не самый лучший, но рабочий.

Рабочий вариант при верхнем разливе горячей воды
Наличие воздухоотводчиков и стравливание воздуха после остановки системы — обязательны.
Универсальное боковое подсоединение
Подвести трубы сбоку можно к полотенцесушителю любой из стандартных форм — П-образным, змейке и лесенке. Само подключение от формы на зависит. В стандартном варианте идет прямой незауженый байпас. Отводы или строго горизонтально или с небольшим уклоном. Уклон есть на рисунке: конец верхнего отвода наклонен чуть вниз (2 см на 1 метр), нижнего — задран немного вверх. Диаметр отводов — не меньше диаметра полотенцесушителя.

Боковое универсальное подключение полотенцесушителя
Подобная схема подключения хороша тем, что на «лесенке» не надо устанавливать воздухоотводчики (ставят заглушки), так как воздух просто уходит в стояк.
При верхней подаче на байпасе можно сделать заужение и/или сместить перемычку по направлению к полотенцесушителю. Это улучшит циркуляцию, сушилка будет греться лучше. Но еще раз: такая схема будет работать только при верхней подаче воды.

При подаче воды сверху байпас можно сместить и сделать его трубой на шаг меньшего диаметра
При такой схеме тоже можно отводы делать под небольшим наклоном или строго горизонтально.
Возможный вариант бокового подключения (не самый лучший)
Допустима схема бокового подсоединения с расположением верхнего отвода ниже верхнего края полотенцесушителя. Но при таком подключении необходимы краны Маевского, через которые придется стравливать воздух после отключения ГВС на ремонт/профилактику. Также может понадобиться периодическое удаление воздуха в процессе.

Не лучший, но вполне работоспособный вариант
Диагональное подключение
Особого смысла в диагональном подключении большинства полотенцесушителей нет: их эффективность от бокового ничем не отличается (во всяком случае существенного улучшения нет), а расход труб больше, длиннее требуются и штробы, а это трудоемко. Хотя схема работоспособна.
Диагональ нормально работает если подача воды идет сверху. Тогда верхний отвод подключается к дальнему краю «лесенки», а нижнее — к ближнему.

Диагональное подключение при верхней подаче
В этом случае тоже можно делать зауженый и смещенный байпас, но и без этого все должно работать «на ура». При нижней подаче байпас без заужения, ровно по стояку, подключение
Полотенцесушители сложной формы: как подключать
В случае подключения полотенцесушителей сложной формы кроме обычных средств приходится учитывать еще и особенности строения каждой конкретной модели. Их надо рассматривать с точки зрения гидродинамики — куда вода будет лучше течь, туда и подавать воду. Например, популярная модель «Элегия» фирмы Сунержа. Это не лестница и не зиг-заг.

Тут выбрано диагональное подключение, потому что другое попросту работать не будет
Установка полотенцесушителя Сунержи Элегия выбрано боковое, так как при любом другом циркуляция будет нарушена. Тут вариантов вообще нет.
Еще одна модель — с нижним подключением и сложной конструкцией имеет три варианта установки. При условии подачи воды сверху, лучше всего будет работать второй,чуть хуже — первый, самый малоэффективный — третий.
Варианты нижнего подключения с верхним разливом
При подаче снизу остаются вариант 1 и 3, но только без заужения байпасов — оно будет мешать, а не помогать. Второй вариант исключаем полностью.
Как нельзя делать
Все представленные выше схемы работают стабильно. Как вы заметили, все отводы идут прямо, без изгибов в виде дуги или колец. Это не случайно — во всех неровностях скапливается воздух, Который мешает, а порой, и полностью перекрывает циркуляцию.

Эта схема не работает
На фото установка полотенцесушителя неправильная. Сделаны как минимум, две ошибки:
- отводы сделаны уже чем межосевое расстояние полотенцесушителя;
- сделаны они металлопластиковой трубой с петлями.
Такое подключение просто не может работать. Металлопластиковые трубы — отличный материал, но не для подключения полотенцесушителей. Их фитинги имеют очень сильное заужение просвета, что плохо сказывается на циркуляции. Плюс к этому в петлях скапливается воздух, а также поток по верхней петле, даже при подаче сверху, не пойдет — слишком большое гидравлическое сопротивление воде надо преодолеть.
Нестабильные схемы
Следующие две схемы могут работать, но далеко не всегда. В нижней части полотенцесушителя вода застаивается и, при какой-то разнице высот, не может подняться. Сказать конкретно, когда она будет работать, а когда нет, не может никто. Зависит от давления в стояке, от диаметра труб и конструкции самой сушилки.

Нестабильно работающие схемы подключения
При таком подключении даже работающее соединение может вдруг (обычно после остановки) перестать работать. Все просто: изменилось давление, засорились трубы, вода снизу не «продавливается», полотенцесушитель не греет.
Другой вариант нестабильной схемы — с петлей сверху. Опять же, при некоторых условиях работать будет. Но рано или поздно высшая точка завоздушится и перекроет циркуляцию. Беде можно помочь, если установить в самой высокой точке автоматический воздухоотводчик, но при падении давления и он не спасет.

С петлей сверху
Совсем неверно
На фото внизу примеры того, как делать не надо. Схемы без крана на байпасе неработоспособны. Чем это грозит — известно. Кроме того, после нескольких лет эксплуатации они вообще перестанут функционировать. Скорее всего это произойдет после очередного отключения — система забьется грязью. Все потому, что весь поток горячей воды пущен через полотенцесушитель. После ремонта в вода несет огромное количество грязи, которая благополучно оседает в изгибах (в самых низких участках в первую очередь). За несколько лет все забивается полностью. По хорошему, все требуется переделать и подключить правильно, ну а помочь горю может только промывка.

Очень плохая идея
Промыть надо и полотенцесушитель и подводы к нему. Для этого сушилку снимаем и моем в ванной, а отводы промываем поочередно подсоединив к освободившемся выходам шланг, второй конец которого вывести в канализацию. Манипулируя кранами пропустить поток горячей воды через один отвод, потом через другой. После промывки все устанавливается на место. Возможно, удастся после этого систему запустить.
Процесс монтажа
Само подсоединение полотенцесушителя к готовым выведенным отводам стандартное для сантехники — подходящие фитинги, лен и упаковочная паста или фум-лента. Для крепления к стене есть кронштейны или специальные зажимы-держатели, в которые труба вдавливается. Подробно процесс показан в видео.
dekormyhome.ru
Как правильно подключить полотенцесушитель лесенка в ванной?
Полотенцесушитель — это незаменимое оборудование для ванной комнаты, которое позволяет поддерживать необходимую комфортную температуру, снижать уровень влажности до приемлемого. Сегодня на строительном рынке можно найти самые различные модели такого оборудования, все они отличаются по своему внешнему виду, конструкции, материалу изготовления. Схема подключения оборудования зависит от того, какую конструкцию имеет полотенцесушитель, к какой системе он будет подключаться.

Схема подключения полотенцесушителя зависит от того, какую конструкцию он имеет и к какой системе будет подключаться.
Наиболее популярная сегодня конструкция «лесенка», отличающаяся компактными размерами, удобной эксплуатацией, относительно несложным подключением к системе водопровода или отопления. Есть и электрические модели, которые позволяют поддерживать необходимый микроклимат круглый год, не так давно поступили в продажу комбинированные варианты.
Классификация полотенцесушителей
Современный полотенцесушитель — это уже не громоздкая конструкция, которая занимает много места в ванной комнате и обладает не слишком привлекательным внешний видом. Это компактное, легкое оборудование, представленное в различных конфигурациях. Сегодня классификация полотенцесушителей представлена несколькими категориями:
Электрический полотенцесушитель имеет ТЭН или термокабель, подключается к системе с напряжением 220В. Теплоносители — масло и антифриз.
- Водяные. Такие полотенцесушители подключаются с системе отопления либо водопроводной трубе с горячей водой. Именно такой вариант подключения дает возможность использовать оборудование в любое время года. Исключение составляет изделие, подключаемое к системе отопления. Эксплуатация ограничивается периодом, когда отопление подается в систему.
- Электрический полотенцесушитель подключается к системе электроснабжения с напряжением в 220В. Такое устройство имеет термокабель или ТЭН, в качестве теплоносителя выступает антифриз и масло.
- Комбинированное оборудование выполняет функции водяного отопления в отопительный период, по окончании которого запускается встроенный электрический нагреватель.
Полотенцесушитель может отличаться и по внешнему виду. Стандартные модели вполнены в форме букв «М» или «П». Они имеют классический внешний вид, занимают довольно много места, но при этом функциональность их не очень велика. Модернизированные модели имеют улучшенный дизайн, встроенные полочки.
Формы полотенцесушителей: а — м-образный; б — п-образный; в — ф-образный; г — «змейка»; д — «лесенка».
Есть полотенцесушители, выполненные в виде лесенки. Такая разновидность наиболее популярна сегодня, так как отличается более привлекательным внешним видом, отлично размещается на стене даже в маленькой ванной комнате. Выпускаются сегодня и элегантные модели, которые позволяют украсить собой любой дизайнерский интерьер. Конструкция их довольно сложна, функциональность может быть различной.
Для изготовления полотенцесушителей применяется сталь со специальным полимерным цветным покрытием, латунь, нержавеющая сталь. Последний вариант считается одним из самых надежных и долговечных, практичных в использовании.
Что такое «лесенка»?
Так что представляет собой полотенцесушитель под названием «лесенка»? Чаще всего это водяное оборудование, которое подключается к системе водопровода либо отопления. Конструкция состоит из двух параллельно установленных труб по бокам и нескольких поперечных, образующих такую форму, как лесенка. Использовать такое устройство можно при подключении к системам с максимальной температурой теплоносителя до 150 градусов по Цельсию. Есть оборудование и электрического типа, внешний вид его практически не отличается от водяного, но есть и свои нюансы.
Трубы для такого полотенцесушеля используются бесшовные, изготовленные из стали или латуни.
Многие имеют красивое покрытие из хрома, позволяющее использовать сушилку практически для любого типа интерьера ванной комнаты.
Сушилка — «лесенка» состоит из двух параллельно установленных труб по бокам и нескольких поперечных. Может использоваться в ванной комнате практически с любым интерьером.
Сегодня возможно подключение сушилки-лесенки нескольких модификаций. Это обычный классический вариант в виде непосредственной лесенки, где перекладины-трубы идут параллельно полу. Есть поворотные модели, немного напоминающие по форме букву «М». Количество перекладин у такого устройства может быть различным, обычно от девяти до пятнадцати. Сами перекладины в данном случае могут быть плоскими или выпуклыми.
Способы, при помощи которых осуществляется подключение оборудования, различны. Но самым удобным является боковое, когда нет потребности полностью переделывать теплотрассы в ванной комнате. Диаметр труб для сушилки соответствует диаметрам входных отверстий для отопительной системы, то есть само подключение обычно не отличается большими сложностями, нет необходимости в приобретении специального оборудования и инструментов.
Из особенностей, которыми отличается полотенцесушитель «лесенка», необходимо отметить то, что такая конструкция позволяет выдерживать давление в системе до 15-16 атмосфер, а при экстренных ситуациях — до 20-22, в зависимости от модели. Это важно особенно для тех сушилок, подключение которых осуществляется в квартирах. Дело в том, что рабочее давление в отопительной городской системе может иногда сильно скакать, а такие перепады пагубно сказываются на любом оборудовании. Поэтому использование конструкции «лесенка» в данном случае полностью оправдано, даже если ее стоимость несколько выше, чем классического варианта.
Для частных одноэтажных домов подобная выносливость не играет особой роли, так как величина рабочего давления в системе отопления редко превышает три атмосферы.
Подключение полотенцесушителей вида «лесенка»
Схема монтажа полотенцесушителя.
Подключение сушилки для ванной комнаты не отличается большими трудностями, эту работу можно вполне выполнить самостоятельно, не привлекая специалистов. Такой монтаж осуществляется при помощи врезки в систему автономного водоснабжения (для горячей воды) или отопления. Но следует помнить, что отопление подает теплоноситель необходимой температуры только в отопительный сезон, а вот горячее водоснабжение может осуществляться круглосуточно!
Если в вашей ванной комнате под подводкой для отопления стоит предусмотреть дополнительную прокладку труб из металлопластика, то такие работы в обязательном порядке согласуются с коммунальными службами. После того как специалистами отключается весь стояк, необходимо установить байпас, то есть перемычку, имеющую шаровые краны. После монтажа производится обязательная проверка системы до ее общего включения.
В чем именно состоит такая схема подключения полотенцесушителя «лесенка»? Для начала необходимо приготовить материалы и инструменты, которые будут нужны в процессе подключения сушилки:
Монтаж полотенцесушителя к стене (схема).
- полотенцесушитель выбранного типа;
- байпас;
- два шаровых крана;
- полипропиленовые трубы для отопительной системы;
- оборудование для пайки труб;
- соединительные муфты;
- сантехнический инструмент (разводные ключи, специальные ленты).
Сам процесс подключения состоит в следующем:
- демонтаж старой сушилки, установленной в ванной. Если есть необходимость, то сначала осуществляется отключение стояка;
- работы по соединению труб и оборудования;
- установка кранов для полотенцесушителя;
- монтаж перемычки, при помощи которой можно регулировать температуру, не затрагивая общей системы, установленной в доме, и не нарушая рабочего давления.
Используйте инструкцию по установке:
- первое, что необходимо сделать, — это тщательно распланировать все работы. Сюда относится составление списка материалов, которые необходимо приобрести, этапов проведения работы. В последнем случае осуществляется демонтаж старого оборудования, подготовка всех соединительных деталей, изоляция и монтаж нового полотенцесушителя. Надо учесть стоимость по отключению стояка на время работы, необходимость использования дополнительных труб для отопления, уборки мусора после завершения работ;
- далее следует отправляться в местный ЖЭК, где нужно будет написать заявление на отключение стояка для проведения работ по подключению сушилки. Вам сообщат дату приезда мастера, более точное время лучше с ним согласовать заранее;
- правильно подключить оборудование можно только после того, как система отключена;
- после окончания монтажа оборудование внимательно проверяется, можно подключить стояк и убрать весь мусор, оставшийся после проведения работ.

Схемы подключения полотенцесушителя типа «лесенка».
Как подключить к стояку?
Правильно подключить можно следующим образом:
Монтаж байпаса: 1 — тройник; 2 — кран; 3 — сгон; 4 — полотенцесушитель.
- после демонтажа необходимо к системе центрального отопления присоединить муфты, которые могут иметь различные размеры в зависимости от того, какие именно трубы у вас уже установлены. Все уклоны подводки при этом осуществляются по ходу течения теплоносителя в системе;
- если длина подводки составляет до 500 мм, то ее можно ставить горизонтально;
- стояк для подачи горячей воды к сушилке подключается снизу, чтобы поток шел наверх;
- чтобы правильно подключить систему, необходимо помнить о соблюдении определенного расстояния между сушилкой и стеной. При диаметре основной трубы до 23 мм расстояние должно составлять 35 мм, при диаметре от 40 до 50 мм расстояние составляет 50-650 мм;
- сушилка навешивается на специальные крюки, вбитые в стену, приваривать ее не рекомендуется. Это делается, чтобы избежать деформаций оборудования при запуске системы.
Как видно, подсоединить полотенцесушитель «лесенка» в ванной комнате не так сложно.
Сегодня в продаже имеются различные модели полотенцесушителей, но одной из оптимальных считается конструкция «лесенка», сильно напоминающая этот архитектурный элемент по внешнему виду. Она удобна и практична, не требует лишних затрат по установке.
1poteply.ru
Подключение полотенцесушителя лесенка с нижним подключением
Содержание статьи:

Виды полотенцесушителей
Полезное изобретение, которое создано для сушки полотенец и мелкого белья, просто необходимо в современной ванной комнате. Каждый владелец дома или квартиры, затевающий ремонт в ванной, задавался вопросом установки полотенцесушителя водяного лесенка с нижним подключением в своем жилище. Конечно же, функционирование этого приспособления зависит от правильности монтажа. Для того чтобы правильно его установить, необходимо изучить схему подключения полотенцесушителя с нижней подводкой.
Как выбрать полотенцесушитель
На сегодняшний день существует огромное разнообразие различных полотенцесушителей. Человеку, который столкнулся с проблемой выбора, очень непросто определиться с тем, какой же из них приобрести. Они подразделяются на следующие виды:
- электрические;
- водяные;
- комбинированные.
Также эти изделия различают по конструктивному признаку (по форме):
- П-образный;
- М-образный;
- лесенка;
- змейка.
Наша же статья будет посвящена полотенцесушителю водяному лесенка с нижним подключением, особенностям его выбора и монтажа.
Самым эффективным полотенцесушителем водяным с нижним подключением по своей конфигурации является лесенка. Это и понятно: количество отдаваемого тепла на единицу площади заметно выше, чем у других типов полотенцесушителей. Если учитывать все особенности конструкций всех инженерных коммуникаций многоэтажных домов, особой популярностью пользуются полотенцесушители лесенка с нижним подключением к водопроводной сети. Следует заметить, что агрегаты такого типа можно врезать в систему отопления и квартир, и коттеджей, и частных домов.
Способы нижнего подключения полотенцесушителя
Для того чтобы полотенцесушитель выполнял свою основную функцию, его необходимо правильно подключить. Но чтобы использование полотенцесушителя водяного с нижним подключением было максимально функциональным, нужен правильный и грамотный монтаж, с которым может справиться не только профессиональный монтажник.
В принципе, если человек хоть немного знаком с сантехническими работами, подключить полотенцесушитель для него не составит особого труда. Для того, чтобы установить полотенцесушитель лесенка с нижним подключением, вы не должны обладать какими-то особыми навыками и инструментом. Если же вы решили заняться этим самостоятельно, то вам, несомненно, помогут наши советы и рекомендации.
Схема подключения полотенцесушителя с нижней подводкой может быть двух видов:
- последовательная;
- два типа параллельной.
Инструменты и материалы для монтажа
Схема подключения вентиля полотенцесушителя
Для того чтобы самостоятельно выполнить нижнее подключение полотенцесушителя, вам понадобятся некоторые материалы. Вот приблизительный список того, что будет необходимо для подключения:
- сам агрегат;
- трубы;
- вентили;
- фитинги;
- втулки;
- гаечные ключи различных размеров;
- перфоратор;
- болгарка с отрезным кругом.
Полезные советы по монтажу
- В одной системе не рекомендуется использовать детали, изготовленные из разных материалов. Невыполнение этого требования может привести к коррозии металлических деталей.
- Если полотенцесушитель подключается в системе отопления, пользоваться им можно только в холодное время года. Если к водоснабжению – круглогодично.
- Монтировать полотенцесушитель можно и к нижним, и к верхним патрубкам. Но при монтаже к нижним, его мощность уменьшится на 10%.
- Если диаметры полотенцесушителя и патрубков не соответствуют друг другу, то тогда необходимо воспользоваться переходниками.
Учтите, что к месту монтажа полотенцесушителя всегда должен быть обеспечен свободный доступ. Это условие необходимо создать на случай возникновения аварии или непредвиденной ситуации. Не забудьте проверить герметичность.
santehnicheskij-mir.ru
Варианты подключения водяного полотенцесушителя типа Лесенка
| Подключение | Заземление |
Универсальное подключение:
Нижнее подключение 1: Самое оптимальное, а скорее, идеальное подключение водяного полотенцесушителя ЛЕСЕНКА к системе ГВС – это нижнее горизонтальное. При таком варианте подключения в полотенцесушителе горячая вода, даже при слабом давлении, циркулирует на все 100 % и все перекладины, даже в больших размерах полотенцесушителей, будут горячими.Диагональное подключение 2: Лесенку можно подключить и по диагонали – этот метод так же работает без нареканий при любых размерах полотенцесушителя.
Боковое подключение 3, 4: Тут есть нюансы. Не рекомендуем подключать полотенцесушители больших размеров от 100 см. по высоте с боковым подключением – одна или две нижние перекладины могут оставаться холодными. Если нужен полотенцесушитель больше 100 см. по высоте, то будет правильнее выбрать лесенку с универсальным подключением и подключить её в бок, подробнее о вариантах бокового подключения.
Не стоит недооценивать важность правильного подключения водяных полотенцесушителей.
Вот одна из ситуаций, о которой нам рассказал наш клиент: Леонид Мельников г. Волгоград
Нашему дому уже 10 лет, но с тех пор как мы заселились в него, меняли полотенцесушители чуть ли не раз в год. Причем устанавливали водяные полотенцесушители из нержавейки – добротные, вроде. Но не проходило и года, как они начинали течь. Даже если выбирать полотенцесушители с боковым подключением из дорого сегмента, данную проблему это не решит.
Предположительно, дело в элетрокоррозии. Но не понятно, в чем причина этой коррозии. Продавец в магазине мне сказал, что нельзя заземлять электроприборы через систему водоснабжения. Но я-то ничего не заземлял!
И дело тут точно не в блуждающих токах, про которые мне твердят, т.к. они возникают только в земле, если использовать ее как токопроводящую среду, например, в случае электрифицированных железных дорог. И коррозия металлических предметов при этом возникает тоже в земле. Так что к делу красивая фраза «блуждающие токи» вообще никак не относится.
Я прочитал правила монтажа и использования полотенцесушителей разных производителей и узнал, что, согласно им, в ряде случаев полотенцесушители следует заземлять. При этом нужно определить, как водяное оборудование соединяется с системой горячего водоснабжения. Заземлять нужно в том случае, если оно подключается через металлопластиковую трубу. А если через стальную трубу – не нужно. Необходимость заземления в случае с металлопластом объясняется наличием хорошей токопроводности алюминиевого слоя внутри трубы и разрывом электрической цепи в месте подключения фитинга. Поэтому, чтобы избежать дальнейшей протечки, необходимо заземлить полотенцесушитель на стояк горячего водоснабжения!
Пригласил к себе сантехника, он заземлил водяной полотенцесушитель, как было указано, на стояк. Пока (как бы не сглазить) проблем никаких нет! Уже который год не задумываемся о замене оборудования. Ради интереса спросил у сантехника, в чем же проблема. Он выдвинул несколько версий: либо дело в том, что у современных домов нет анодной защиты, либо в том, что кто-то из соседей перепутал рабочий ноль и заземление при подключении, например, стиральной машинки. Но кто же теперь разберет?
Вывод один: производитель в данном случае не виноват в причине протечки, поэтому менять одну фирму на другую бесполезно, нужно просто правильно подключать полотенцесушитель!
Самый лучший вариант подключения водяного полотенцесушителя лесенка
Видео с канала Александра Смолина
www.lukipodplitku.ru
Замена или установка полотенцесушителя в ванной
Ванная — помещение, где требуется повышенная температура. Во-первых, по ощущениях так комфортнее, во-вторых, теплый воздух быстрее унесет излишнюю влажность после принятия душа или ванны. Отопление в ванной делают нечасто — не принято. Более распространенный способ — установка полотенцесушителя, о чем и поговорим дальше. Чтобы все работало без проблем, требуется правильно выбрать схему подключения, да еще ее правильно реализовать. И во всем вам придется разбираться самостоятельно. Ведь даже если вы не будете делать все своими руками, следить за сантехниками придется. Только так можно быть уверенным в том, что вам оставят нормально работающую сушилку.

Чтобы все не только выглядело хорошо, но и работало без проблем, надо правильно проложить подводку
Какие конструкции бывают
Содержание статьи
Полотенцесушители есть разных форм. При их выборе люди часто руководствуются исключительно эстетикой, что не совсем оправданно. Приборы эти нормально работают при хорошей циркуляции воды, но далеко не все модели такую циркуляцию обеспечивают. С некоторыми приходится долго мудрить, подыскивая правильную схему подключения, иначе они просто отказываются работать.
Итак, все полотенцесушители можно разделить на четыре группы:
- П-образные или U- образные. Самые простые модели, элементарное подключение (боковое). Идеально, если при замене старого вы найдете модель с тем же межосевым расстоянием. Тогда, если повезет, можно даже отводы не переделывать.
- Лесенка. Современные конструкции с некоторым количеством перекладин. Тоже неплохой вариант с точки зрения гидравлики. Подключение может быть нижним, боковым или диагональным. Но выбирается оно не произвольно, а по совокупности условий (откуда подача, расположение относительно стояка).
- Змейка. Еще одна классическая модель с боковым подключением. Установка полотенцесушителя этого типа, как правило, никаких проблем не представляет.

Виды полотенцесушителей
- Сложная форма. Есть очень необычные полотенцесушители. Они могут быть даже украшением интерьера, но их грамотное подсоединение — проблема. Как правило, требуется консультация грамотного специалиста, сантехника, который хорошо ориентируется в гидравлике. Как понимаете, найти такого — задача непростая.
Очень часто бывает так, что после установки полотенцесушителя он просто не работает. Если ошибка серьезная, работать перестает также и стояк, к которому он подключен. Потому необходимо знать и выполнять правила подключения.
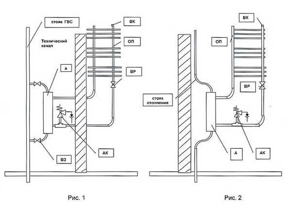
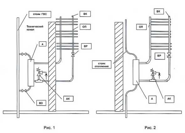
Куда подключить и где повесить
Подключить водяной полотенцесушитель можно и к стояку горячей воды и к отоплению. Если есть оба эти варианта, выбирают обычно ГВС. На это есть три причины: меньше мороки с разрешением на подключение, подключать можно в любое время года (договориться с УК об отключении стояка и все) и, самое важное, — греется такой полотенцесушитель круглый год.
Если же ГВС в доме нет, придется подключатся к стояку отопления. Для этого требуется разрешение УК и проект. Покупаете полотенцесушитель (желательно простой конструкции), идете в ЖЭК с его паспортом (копией), пишите заявление. Если разрешение дают, заказываете проект (тоже нужна будет копия паспорта с подосоединительными размерами). Потом, согласно проекта, выполняете сами или нанимаете исполнителей (сантехников из ЖЭКа, как вариант). Вызываете представителей ЖЭКа для приемки.

Чтобы «полотенчик» грелся всегда и без проблем, все подводы прямые, без дуг и карманов
При определении места установки полотенцесушителя могут еще возникать вопросы о том, на какой высоте его стоит вешать. Если есть выбор, удобнее всего располагать так, чтобы он находится на уровне головы и ниже. Это если ставите П-образную или змейку. Если речь идет о «лесенках» большой высоты, верхнюю планку располагают не уровне накала кисти поднятой руки (примерно 190-200 см).
При выборе места установки полотенцесушителя надо еще учитывать удаленность от стояка. В принципе, чем ближе к стояку, тем лучше — больше шансов на то, что работать будет. Но, можно отнести и на метр или около того, только при выполнении условий:
- малого гидравлического сопротивления полотенцесушителя (простая форма и сечение 1″ или 3/4″),
- достаточного давления (2 атм или больше)
- отвода трубами нормального диаметра (на шаг меньше чем стояк).
При этом обязательно выполнять и другие правила подключения. Тогда будут шансы а то, что работать такой «удаленный» прибор будет нормально.
Чем делать отводы и как поменять стояк
Если стояк металлический и менять его вы не собираетесь, то установка полотенцесушителя возможна стальными или полипропиленовыми трубами. Если стояк вы меняете (лучший вариант) и ставите полипропилен, выбора нет — ППР трубы идут и на отводы. Полипропилен брать для горячей воды, лучше — армированный стеклотканью.
Почему не подходит металлопластик? Потому что фитинги у него с сильным заужением просвета. Это очень плохо сказывается на циркуляции. В результате даже 100% работоспособные схемы не дают нормального нагрева.

Установка полотенцесушителя с разводкой полоипропиленовыми трубами
Немного о том, зачем менять стояк. Это имеет смысл делать в старых домах при ремонте в ванной или санузле (смотря где у вас расположен стояк). Во-первых, трубы обычно уже старые и изношенные. К ним даже отвод бывает проблематично приварить, настолько металл износился. Во-вторых, современный ремонт предполагает скрытую прокладку коммуникаций и вы тоже захотите стояк закрыть. Прятать старую трубу, а через несколько лет все снова рушить… не самое хорошее решение.
Немного о том, как менять. Вам надо договориться с соседями снизу и сверху, а также с ЖЭКом (ДЭЗ, УК). С соседями о том, что вы отрежете стояк у них и на резьбе установите новый. Почему у них? Потому что оставлять старую трубу в перекрытии опасно: разрушится и потечет. Затопит вас или соседей снизу. Потому лучше через перекрытия пройти новой трубой.

При таком подключении сушилка — часть стояка и никаких кранов быть не может
Договорившись или нет с соседями (у них может стояк уже закрыт) идете в ЖЭК и договариваетесь о дате замены и времени, на которое стояк отключат. Работать могут «местные» слесаря, вы сами (при наличии квалификации сварщика) или нанятые вами люди. После врезки, воду включают, вы проверяете работоспособность полотенцесушителя и системы в целом. Если за 30 минут он не начнет остывать, значит поставлен правильно. На этом замена или установка полотенцесушителя завершена.
С байпасом или без
Начнем с того, что такое байпас. Это перемычка между входом и выходом прибора, которая обеспечивает циркуляцию воды при выходе прибора из строя или его отключении.

Перемычка между входом и выходом полотенцесушителя и есть байпас
Если с схеме есть байпас, на входе и выходе прибора можно ставить отсечные шаровые краны. Это удобно — можно при необходимости отключить (при ремонте или замене) и не перекрывать весь стояк.
Если такой перемычки нет, никаких кранов ставить нельзя. В этом случае полотенцесушитель — часть стояка, закрывая краны вы полностью перекрываете стояк.

При подключении без байпаса никаких кранов
Байпас может быть прямым (как на первом фото в главе) или смещенным (на фото ниже). Смещенную перемычку ставят при верхней подаче теплоносителя для лучшей работы (улучшается циркуляция). При нижней подаче смещение только мешает. Если вы не знаете, откуда подается вода, лучше делайте прямой байпас.

Смещенный байпас при верхней подаче теплоносителя улучшает циркуляцию
Еще байпасы (прямые или смещенные) делают зауженными. Заужение, также как и смещение улучшает циркуляцию, но только в случае с верхней подачей. Заужение делают трубой, которая на шаг меньше основного (если стояк дюймовый, узкое место делают 3/4″). Меньше нельзя. Размер вставки — не менее 10 см.
Еще раз: смещенный и/или зауженный байпас работает только при верхней подаче воды. При нижней он мешает циркуляции. Если не уверены, делайте байпас прямым и незауженным.
Категорически нельзя на байпасе ставить краны. Каждый кран — это потери давления, а значит, он ухудшает циркуляцию всего стояка, вода течет уже не такая горячая. У всех соседей выше или ниже (зависит от направления подачи) заметно ухудшается напор. Иногда он падает и у владельца байпаса с краном. Ко всему, это абсолютно ненужная деталь, которая приносит только вред, а сколько-нибудь заметного улучшения циркуляции в полотенцесушителе не наблюдается. Ну, и кроме того, это нарушение СНиП 31-01-2003 (п 10.6) — вмешательство в общедомовые коммуникации, за что может быть выписан штраф (немалый).
Как располагать отводы (способы подключения)
При боковом и диагональном подключении отводы должны располагаться на одном уровне со входами полотенцесушителя или чуть выше/ниже. Что точно не будет работать, так это установка полотенцесушителя если отводы расположены на расстоянии меньшем, чем расстояние между входами. На фото ниже пример нерабочего диагонального подключения с близко расположенными отводами. Черным обозначен вариант ее исправления (подача верхняя).

При боковом подключении полотенцесушитель будет работать только если отводы находятся чуть выше и чуть ниже его входов или хотя-бы на одном уровне
При подключении надо отводы располагать строго горизонтально или немного под углом. Немного под углом — это от 2 см на метр (2%) или можно чуть больше. Направление уклона зависит от схемы подключения и того, к какому концу этот отвод будет подсоединен. Чтобы было немного понятнее, рассмотрим несколько типовых схем подключения полотенцесушителей.
Универсальное нижнее подключение полотенцесушителя «лесенки»
Эта схема работает независимо от направления подачи горячей воды. Тип подключения — нижний, оба отвода должны располагаться ниже чем нижний край сушилки. При верхней подаче допустим вариант, когда край находится между отводами, но работа уже может быть не настолько эффективной (может хуже греться).

Универсальное подключение полотенцесушителя (нижнее)
В данной схеме можно ставить отсечные краны. Для ее нормальной работы необходимы:
- Установленные на верхних выводах краны Маевского (воздухоотводчики) для спуска скапливающегося в верхней части воздуха. Их надо будет периодически открывать и спускать воздух (как начинает хуже греться). Есть вариант — поставить автоматические воздухоотводчики. Они тоже есть компактные. Это упростит эксплуатацию.
- Байпас прямой с заужением. Размер заужения — трубой на один шаг меньшего диаметра.
- Отводы выполняются трубой на шаг меньшего диаметра чем основной стояк.
Если у вас по высоте проходит этот вариант, делайте его. Схема работает в любых условиях, с полотенцесушителями типа «лесенка» любого вида.
Возможный вариант нижнего подключения для подачи сверху
При разливе горячей воды сверху, можно верхний отвод сделать выше нижнего края сушилки. При смещенном байпасе и его заужении греться должно нормально. Этот способ не самый лучший, но рабочий.

Рабочий вариант при верхнем разливе горячей воды
Наличие воздухоотводчиков и стравливание воздуха после остановки системы — обязательны.
Универсальное боковое подсоединение
Подвести трубы сбоку можно к полотенцесушителю любой из стандартных форм — П-образным, змейке и лесенке. Само подключение от формы на зависит. В стандартном варианте идет прямой незауженый байпас. Отводы или строго горизонтально или с небольшим уклоном. Уклон есть на рисунке: конец верхнего отвода наклонен чуть вниз (2 см на 1 метр), нижнего — задран немного вверх. Диаметр отводов — не меньше диаметра полотенцесушителя.

Боковое универсальное подключение полотенцесушителя
Подобная схема подключения хороша тем, что на «лесенке» не надо устанавливать воздухоотводчики (ставят заглушки), так как воздух просто уходит в стояк.
При верхней подаче на байпасе можно сделать заужение и/или сместить перемычку по направлению к полотенцесушителю. Это улучшит циркуляцию, сушилка будет греться лучше. Но еще раз: такая схема будет работать только при верхней подаче воды.

При подаче воды сверху байпас можно сместить и сделать его трубой на шаг меньшего диаметра
При такой схеме тоже можно отводы делать под небольшим наклоном или строго горизонтально.
Возможный вариант бокового подключения (не самый лучший)
Допустима схема бокового подсоединения с расположением верхнего отвода ниже верхнего края полотенцесушителя. Но при таком подключении необходимы краны Маевского, через которые придется стравливать воздух после отключения ГВС на ремонт/профилактику. Также может понадобиться периодическое удаление воздуха в процессе.

Не лучший, но вполне работоспособный вариант
Диагональное подключение
Особого смысла в диагональном подключении большинства полотенцесушителей нет: их эффективность от бокового ничем не отличается (во всяком случае существенного улучшения нет), а расход труб больше, длиннее требуются и штробы, а это трудоемко. Хотя схема работоспособна.
Диагональ нормально работает если подача воды идет сверху. Тогда верхний отвод подключается к дальнему краю «лесенки», а нижнее — к ближнему.

Диагональное подключение при верхней подаче
В этом случае тоже можно делать зауженый и смещенный байпас, но и без этого все должно работать «на ура». При нижней подаче байпас без заужения, ровно по стояку, подключение
Полотенцесушители сложной формы: как подключать
В случае подключения полотенцесушителей сложной формы кроме обычных средств приходится учитывать еще и особенности строения каждой конкретной модели. Их надо рассматривать с точки зрения гидродинамики — куда вода будет лучше течь, туда и подавать воду. Например, популярная модель «Элегия» фирмы Сунержа. Это не лестница и не зиг-заг.

Тут выбрано диагональное подключение, потому что другое попросту работать не будет
Установка полотенцесушителя Сунержи Элегия выбрано боковое, так как при любом другом циркуляция будет нарушена. Тут вариантов вообще нет.
Еще одна модель — с нижним подключением и сложной конструкцией имеет три варианта установки. При условии подачи воды сверху, лучше всего будет работать второй,чуть хуже — первый, самый малоэффективный — третий.
Варианты нижнего подключения с верхним разливом
При подаче снизу остаются вариант 1 и 3, но только без заужения байпасов — оно будет мешать, а не помогать. Второй вариант исключаем полностью.
Как нельзя делать
Все представленные выше схемы работают стабильно. Как вы заметили, все отводы идут прямо, без изгибов в виде дуги или колец. Это не случайно — во всех неровностях скапливается воздух, Который мешает, а порой, и полностью перекрывает циркуляцию.

Эта схема не работает
На фото установка полотенцесушителя неправильная. Сделаны как минимум, две ошибки:
- отводы сделаны уже чем межосевое расстояние полотенцесушителя;
- сделаны они металлопластиковой трубой с петлями.
Такое подключение просто не может работать. Металлопластиковые трубы — отличный материал, но не для подключения полотенцесушителей. Их фитинги имеют очень сильное заужение просвета, что плохо сказывается на циркуляции. Плюс к этому в петлях скапливается воздух, а также поток по верхней петле, даже при подаче сверху, не пойдет — слишком большое гидравлическое сопротивление воде надо преодолеть.
Нестабильные схемы
Следующие две схемы могут работать, но далеко не всегда. В нижней части полотенцесушителя вода застаивается и, при какой-то разнице высот, не может подняться. Сказать конкретно, когда она будет работать, а когда нет, не может никто. Зависит от давления в стояке, от диаметра труб и конструкции самой сушилки.

Нестабильно работающие схемы подключения
При таком подключении даже работающее соединение может вдруг (обычно после остановки) перестать работать. Все просто: изменилось давление, засорились трубы, вода снизу не «продавливается», полотенцесушитель не греет.
Другой вариант нестабильной схемы — с петлей сверху. Опять же, при некоторых условиях работать будет. Но рано или поздно высшая точка завоздушится и перекроет циркуляцию. Беде можно помочь, если установить в самой высокой точке автоматический воздухоотводчик, но при падении давления и он не спасет.

С петлей сверху
Совсем неверно
На фото внизу примеры того, как делать не надо. Схемы без крана на байпасе неработоспособны. Чем это грозит — известно. Кроме того, после нескольких лет эксплуатации они вообще перестанут функционировать. Скорее всего это произойдет после очередного отключения — система забьется грязью. Все потому, что весь поток горячей воды пущен через полотенцесушитель. После ремонта в вода несет огромное количество грязи, которая благополучно оседает в изгибах (в самых низких участках в первую очередь). За несколько лет все забивается полностью. По хорошему, все требуется переделать и подключить правильно, ну а помочь горю может только промывка.

Очень плохая идея
Промыть надо и полотенцесушитель и подводы к нему. Для этого сушилку снимаем и моем в ванной, а отводы промываем поочередно подсоединив к освободившемся выходам шланг, второй конец которого вывести в канализацию. Манипулируя кранами пропустить поток горячей воды через один отвод, потом через другой. После промывки все устанавливается на место. Возможно, удастся после этого систему запустить.
Процесс монтажа
Само подсоединение полотенцесушителя к готовым выведенным отводам стандартное для сантехники — подходящие фитинги, лен и упаковочная паста или фум-лента. Для крепления к стене есть кронштейны или специальные зажимы-держатели, в которые труба вдавливается. Подробно процесс показан в видео.
stroychik.ru
Как правильно подключить полотенцесушитель лесенка в ванной?
Как в квартире подключить полотенцесушитель?
Полотенцесушитель — это незаменимое оборудование для ванной комнаты, которое позволяет поддерживать необходимую комфортную температуру, снижать уровень влажности до приемлемого. Сегодня на строительном рынке можно найти самые различные модели такого оборудования, все они отличаются по своему внешнему виду, конструкции, материалу изготовления. Схема подключения оборудования зависит от того, какую конструкцию имеет полотенцесушитель, к какой системе он будет подключаться.

Схема подключения полотенцесушителя зависит от того, какую конструкцию он имеет и к какой системе будет подключаться.
Наиболее популярная сегодня конструкция «лесенка», отличающаяся компактными размерами, удобной эксплуатацией, относительно несложным подключением к системе водопровода или отопления. Есть и электрические модели, которые позволяют поддерживать необходимый микроклимат круглый год, не так давно поступили в продажу комбинированные варианты.
Классификация полотенцесушителей
Современный полотенцесушитель — это уже не громоздкая конструкция, которая занимает много места в ванной комнате и обладает не слишком привлекательным внешний видом. Это компактное, легкое оборудование, представленное в различных конфигурациях. Сегодня классификация полотенцесушителей представлена несколькими категориями:
Электрический полотенцесушитель имеет ТЭН или термокабель, подключается к системе с напряжением 220В. Теплоносители — масло и антифриз.
- Водяные. Такие полотенцесушители подключаются с системе отопления либо водопроводной трубе с горячей водой. Именно такой вариант подключения дает возможность использовать оборудование в любое время года. Исключение составляет изделие, подключаемое к системе отопления. Эксплуатация ограничивается периодом, когда отопление подается в систему.
- Электрический полотенцесушитель подключается к системе электроснабжения с напряжением в 220В. Такое устройство имеет термокабель или ТЭН, в качестве теплоносителя выступает антифриз и масло.
- Комбинированное оборудование выполняет функции водяного отопления в отопительный период, по окончании которого запускается встроенный электрический нагреватель.
Полотенцесушитель может отличаться и по внешнему виду. Стандартные модели вполнены в форме букв «М» или «П». Они имеют классический внешний вид, занимают довольно много места, но при этом функциональность их не очень велика. Модернизированные модели имеют улучшенный дизайн, встроенные полочки.
Формы полотенцесушителей: а — м-образный; б — п-образный; в — ф-образный; г — «змейка»; д — «лесенка».
Есть полотенцесушители, выполненные в виде лесенки. Такая разновидность наиболее популярна сегодня, так как отличается более привлекательным внешним видом, отлично размещается на стене даже в маленькой ванной комнате. Выпускаются сегодня и элегантные модели, которые позволяют украсить собой любой дизайнерский интерьер. Конструкция их довольно сложна, функциональность может быть различной.
Для изготовления полотенцесушителей применяется сталь со специальным полимерным цветным покрытием, латунь, нержавеющая сталь. Последний вариант считается одним из самых надежных и долговечных, практичных в использовании.
Что такое «лесенка»?
Так что представляет собой полотенцесушитель под названием «лесенка»? Чаще всего это водяное оборудование, которое подключается к системе водопровода либо отопления. Конструкция состоит из двух параллельно установленных труб по бокам и нескольких поперечных, образующих такую форму, как лесенка. Использовать такое устройство можно при подключении к системам с максимальной температурой теплоносителя до 150 градусов по Цельсию. Есть оборудование и электрического типа, внешний вид его практически не отличается от водяного, но есть и свои нюансы.
Трубы для такого полотенцесушеля используются бесшовные, изготовленные из стали или латуни.
Многие имеют красивое покрытие из хрома, позволяющее использовать сушилку практически для любого типа интерьера ванной комнаты.
Сушилка — «лесенка» состоит из двух параллельно установленных труб по бокам и нескольких поперечных. Может использоваться в ванной комнате практически с любым интерьером.
Сегодня возможно подключение сушилки-лесенки нескольких модификаций. Это обычный классический вариант в виде непосредственной лесенки, где перекладины-трубы идут параллельно полу. Есть поворотные модели, немного напоминающие по форме букву «М». Количество перекладин у такого устройства может быть различным, обычно от девяти до пятнадцати. Сами перекладины в данном случае могут быть плоскими или выпуклыми.
Способы, при помощи которых осуществляется подключение оборудования, различны. Но самым удобным является боковое, когда нет потребности полностью переделывать теплотрассы в ванной комнате. Диаметр труб для сушилки соответствует диаметрам входных отверстий для отопительной системы, то есть само подключение обычно не отличается большими сложностями, нет необходимости в приобретении специального оборудования и инструментов.
Из особенностей, которыми отличается полотенцесушитель «лесенка», необходимо отметить то, что такая конструкция позволяет выдерживать давление в системе до 15-16 атмосфер, а при экстренных ситуациях — до 20-22, в зависимости от модели. Это важно особенно для тех сушилок, подключение которых осуществляется в квартирах. Дело в том, что рабочее давление в отопительной городской системе может иногда сильно скакать, а такие перепады пагубно сказываются на любом оборудовании. Поэтому использование конструкции «лесенка» в данном случае полностью оправдано, даже если ее стоимость несколько выше, чем классического варианта.
Для частных одноэтажных домов подобная выносливость не играет особой роли, так как величина рабочего давления в системе отопления редко превышает три атмосферы.
Подключение полотенцесушителей вида «лесенка»
Схема монтажа полотенцесушителя.
Подключение сушилки для ванной комнаты не отличается большими трудностями, эту работу можно вполне выполнить самостоятельно, не привлекая специалистов. Такой монтаж осуществляется при помощи врезки в систему автономного водоснабжения (для горячей воды) или отопления. Но следует помнить, что отопление подает теплоноситель необходимой температуры только в отопительный сезон, а вот горячее водоснабжение может осуществляться круглосуточно!
Если в вашей ванной комнате под подводкой для отопления стоит предусмотреть дополнительную прокладку труб из металлопластика, то такие работы в обязательном порядке согласуются с коммунальными службами. После того как специалистами отключается весь стояк, необходимо установить байпас, то есть перемычку, имеющую шаровые краны. После монтажа производится обязательная проверка системы до ее общего включения.
В чем именно состоит такая схема подключения полотенцесушителя «лесенка»? Для начала необходимо приготовить материалы и инструменты, которые будут нужны в процессе подключения сушилки:
Монтаж полотенцесушителя к стене (схема).
- полотенцесушитель выбранного типа;
- байпас;
- два шаровых крана;
- полипропиленовые трубы для отопительной системы;
- оборудование для пайки труб;
- соединительные муфты;
- сантехнический инструмент (разводные ключи, специальные ленты).
Сам процесс подключения состоит в следующем:
- демонтаж старой сушилки, установленной в ванной. Если есть необходимость, то сначала осуществляется отключение стояка;
- работы по соединению труб и оборудования;
- установка кранов для полотенцесушителя;
- монтаж перемычки, при помощи которой можно регулировать температуру, не затрагивая общей системы, установленной в доме, и не нарушая рабочего давления.
Используйте инструкцию по установке:
- первое, что необходимо сделать, — это тщательно распланировать все работы. Сюда относится составление списка материалов, которые необходимо приобрести, этапов проведения работы. В последнем случае осуществляется демонтаж старого оборудования, подготовка всех соединительных деталей, изоляция и монтаж нового полотенцесушителя. Надо учесть стоимость по отключению стояка на время работы, необходимость использования дополнительных труб для отопления, уборки мусора после завершения работ;
- далее следует отправляться в местный ЖЭК, где нужно будет написать заявление на отключение стояка для проведения работ по подключению сушилки. Вам сообщат дату приезда мастера, более точное время лучше с ним согласовать заранее;
- правильно подключить оборудование можно только после того, как система отключена;
- после окончания монтажа оборудование внимательно проверяется, можно подключить стояк и убрать весь мусор, оставшийся после проведения работ.

Схемы подключения полотенцесушителя типа «лесенка».
teplomonster.ru
Спускаем воздух из полотенцесушителя самостоятельно: инструкция
Воздух в полотенцесушителе – это главная причина неэффективной работы устройства. Приспособление для сушки полотенце попросту перестает греть, соответственно сушить полотенца.
Полотенцесушитель – это необычная труба в ванной комнате. В первую очередь — это альтернативная замена радиаторам, которых в ванных зачастую не устанавливают. Во вторую очередь, устройство для сушки в паре с качественной вентиляцией обеспечивают чистый и сухой воздух в помещении, предотвращая возникновение грибка и плесени.
Как вы знаете, полотенцесушитель теплый даже летом, когда отопление отключают, все потому, что приспособление подсоединяют к системе горячего водоснабжения. Если дом не подключен к централизованной подаче горячей воды, можно приобрести аналог электрический.

Даже очень красивый полотенцесушитель может плохо греть, если в нем будет воздух
Кто некоторое время пользовался полотенцесушителем, знает, что без него никуда. Устройство очень полезное в быту. В ванной вас всегда ждут сухие и теплые полотенца. На полотенцесушителе можно сушить мелкие вещи (платочки, носочки и др.) или мокрую обувь.
Преимущества полотенцесушителя в доме отлично понимают родители, которым в зимний период приходится каждый день сушить детские перчатки или ботиночки.
Главная проблема устройства для сушки
После определенного срока использования полотенцесушителя, вы обнаружите, что он перестал греть и в эту минуту является абсолютно холодным.
С этой проблемой зачастую сталкиваются жители многоэтажных домов, когда в осенний период включается централизованная система отопления. В это время (когда трубы заполняются водой) возможно, возникновение воздуха в трубах. Подобные пробки обычно возникают в завершающих деталях отопительной системы, которой и является полотенцесушитель.
Как только в трубах возникает воздух, качественная циркуляция горячей воды нарушается, соответственно устройство для сушки перестает греться.
Длительный простой полотенцесушителя может существенно сказаться на ваших привычках и качественном проветривании ванной комнаты, ведь высокий уровень влажности даже за неделю может отразиться на отделке стен помещения.
Если вы планируете установить устройство для сушки полотенце или уже установили, вы обязаны быть в курсе всех его возможных проблем и способов их решения.
Спускаем воздух из полотенцесушителя самостоятельно
Так как единственной проблемой, которая вызывает неполадки в работе устройства, является воздух – его нужно устранить.
Как только вы спустите воздух из полотенцесушителя, он снова заработает на прежнем уровне. Стравить воздушные пробки достаточно легко, с этой проблемой вы справитесь самостоятельно, без помощи специалистов.
Чтобы механизм снова стал теплым, воздух можно спустить двумя способами:
- Классический или традиционный способ.
- Современный способ.

На некоторых моделях сверху полотенцесушителя снимаются заглушки, там клапан для стравливания пробок .
Традиционный способ устранения воздуха предполагает спуск воды. Так как полотенцесушитель подключается к системе водоснабжения, достаточно лишь спустить всю воду вместе с воздушными пробками. В многоэтажных домах спуск воды производится на верхнем этаже по стояку. Если спуск находится в вашей квартире, еще проще – можете самостоятельно спустить воду.
Иногда, спуска всей воды бывает недостаточно, поэтому вам придется прибегнуть ко второму варианту: открутите гайку, которая крепит устройство для сушки к трубам. Гайку раскручивать нужно предельно аккуратно и медленно. Как только, пойдет воздух вам следует остановиться.
Обязательно заранее уберите все из ванной, чтобы не затопить водой, а под место крепления подставьте емкость для воды.
Современный способ стравить воздух предполагает устройство под названием «кран Маевского». Многие полотенцесушители продаются уже в комплекте с краном или же его можно приобрести отдельно.
Кран крепится к устройству для сушки и предназначается только для спуска воздуха, перекрывать воду он не может. Кран состоит из регулировочного винта и из игольчатого клапана.
Используя специальный ключ или отвертку, поверните винт, клапан откроется, воздух полностью выйдет из механизма. Воздух спускать нужно до тех пор, пока не пойдет вода без пузырьков. Специалисты рекомендуют спускать воду до тех пор, пока не польется струйка не тепло, а даже горячей воды.
Перед проведением всех работ также обязательно позаботьтесь о мерах предосторожности: уберите из ванной все, что боится влаги и подставьте емкость для воды под полотенцесушитель.
Когда спустите весь воздух, закрутите винт обратно, после чего устройство снова должно греться.
Если у вас нет крана Маевского и возможности его приобретения, спустить воздух из полотенцесушителя можно подручными средствами.
Чтобы удалить воздух из труб самостоятельно вам понадобится:
- плоскогубцы;
- отвертка;
- ключ.

Схема подключения
Используя подручные инструменты, следует произвести работы, подобны крану Маевского. Совершенно необязательно обладать навыками сантехника. Вооружитесь необходимыми инструментами, откройте воздухоотводчик, спустите воздух и плотно закройте.
Вы услышите вначале шум – это выходит воздух, затем польется вода. Спускайте воздух, пока напор воды не усилится, и она не станет теплой.
Как вы обратили внимание, спустить воду совершенно несложно. Вам не нужно нанимать мастера и тратить средства из семейного бюджета.
Установка крана Маевского
Не стоит пугаться, что кран Маевского это сложна конструкция, которая сложна в установке и дорогостоящая. Совсем нет, кран представляет собой всего лишь две детали: конический винт и корпус.

Кран Маевского с ключом
Предназначение крана – вывод воздуха наружу, гарантия качественной работы полотенцесушителя.
Принцип работы устройства: при открытом кране, воздух из системы попадает в корпус, где удаляется через боковое отверстие; когда винт закрыт, ни воздух, ни жидкость не могут выйти из трубопровода.
Подбирая кран Маевского, обратите внимание на диаметр наружной резьбы, он должен соответствовать размеру ваших труб, которые используются в системе отопления.
В зависимости от конструкции, кран Маевского можно открыть и закрыть либо рукой, либо специальным ключом, отверткой.
Монтируя кран, позаботьтесь, чтобы отверстие было в нижней части крана. В таком случае собирая воду, она попадет сразу в емкость, а не на стены ванной комнаты. А сам кран нужно монтировать в верхней части полотенцесушителя, чтобы было легче выпустить воздух.
Отзывы многих потребителей рекомендуют воспользоваться услугами мастера при установке крана Маевского. Удалить воздух несложно, но вот проводить монтаж должен специалист.
Воздух в полотенцесушителе – это не проблема, это скорее единичный казус в несколько лет. Решить вопрос можно легко и быстро, на что понадобиться не больше одного дня.

Соблюдайте наши рекомендации, действуйте аккуратно и не спеша, тогда вы с легкостью справитесь с задачей, а ваши полотенца снова станут сухими и теплыми.
vannalife.ru