Обзор напольного газового котла Ferroli Pegasus
___________________________________________________________________________
Напольный чугунный газовый энергонезависимый котел Ferroli Pegasus D 45 с чугунным теплообменником, атмосферной горелкой и цифровой панелью управления предусматривает возможность подключения бойлера.
Газовый напольный котел Ferroli Pegasus имеет конструктивные особенности. Инжекционная горелка сделана из нержавейки, теплообменник с изолирующим слоем минеральной ваты имеет экран из алюминиевой фольги.
Агрегат имеет многофункциональный жидкокристаллический экран с подсветкой, предназначенный для задания критериев работы, а электрический розжиг – систему контроля уровня горения на основе ионизационного электрода.
Отсекающийся клапан с двумя термостатами, обеспечивает контроль за безопасностью. По желанию можно установить уличный термостат и насос.
Преимущества газовых котлов Ферроли Пегасус Д 45:
– эффективная, бесшумная работа;
– низкая тепловая инерция;
– наличие функции самодиагностики и температурного контроля;
– защита от низких температур и перегрева;
– высокое качество теплообмена;
– возможность подключения устройств дистанционного управления Romeo, комнатного программатора Oscar, внешнего бойлера-накопителя BF;
– режим компенсации внешней температуры;
– антиблокировка насоса.

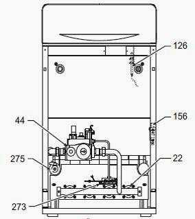
Рис.1. Общее устройство газового котла Ferroli Pegasus D 45
22 – Основная горелка, 44 – Газовый клапан, 126 – Термостат температуры продуктов сгорания, 156 – Пьезоэлектрический запальник, 273 – Пилотная горелка, 275 – Сливной кран системы отопления
Эксплуатация настенных котлов Ferroli Pegasus
Характеристики воды для системы отопления
В случае, если жесткость воды превышает 5°С, используемая в отопительной системе вода должна быть надлежащим образом подготовлена, чтобы предотвращать образование отложений или коррозию, вызванные жесткой или агрессивной водой.
Следует помнить, что отложения толщиной даже несколько миллиметров в связи с их низкой теплопроводностью вызывают значительный перегрев металлических стенок котла Ферроли Пегасус с последующими серьезными последствиями.
Подготовка используемой воды необходима в случае протяженных систем (с большими объемами воды) или частой подачи в систему рекуперированной воды.
Если в этих случаях в дальнейшем потребуется частичный или полный слив воды из системы, новое заполнение системы также требуется производить предварительно подготовленной водой.
Присоединение к газопроводу
Прежде чем приступать к подключению котла Ferroli Pegasus D 45 к системе газоснабжения, удостоверьтесь, что котел предназначен для работы именно на данном виде топлива и тщательно прочистите все газовые трубы для удаления посторонних веществ, могущих помешать правильной работе агрегата.
Газ подключается к соответствующему патрубку с соблюдением действующих норм, с использованием жесткой металлической трубы или гибкого шланга из нержавеющей стали со сплошной оплеткой.
Между газопроводом и котлом должен быть установлен газовый кран. Проверьте герметичность всех газовых соединений.
Пропускная способность счетчика газа должна обеспечивать одновременную работу всех подключенных к нему агрегатов.
Диаметр газового патрубка, который выходит из котла, не является определяющим при выборе диаметра трубы, соединяющей котел и счетчик; диаметр определяется согласно действующим нормам и зависит от длины и внутреннего сопротивления трубы.
Запрещается использовать газовые трубопроводы в качестве проводников системы заземления электрооборудования.
Включение настенного котла Ферроли Пегасус Д 45
– Поместите термостат регулировки котла на минимальное значение.
– Откройте газовый вентиль, установленный перед аппаратом.
– Стравите воздух из газовых труб, открыв штуцер отбора давления на входе в клапан.
– Нажмите и удержите ручку управления газового клапана в положении вкл.
– Включите пилотную горелку путем неоднократного нажатия на кнопку пьезоэлектрического запальника.
– После розжига пилотной горелки удерживайте нажатой ручку газового клапана еще 15 – 20 секунд, затем медленно отпустите ее, проверяя, что пилотная горелка остается включенной. В противном случае подождите 30 секунд и повторите операцию розжига.
– Нажмите и удержите ручку управления 1 газового клапана в положении.
– Поместите термостат регулировки котла на требуемое температурное значение (не менее 50°).
– После этого произойдет розжиг главной горелки и котел будет работать в автоматическом режиме.
Регулировки газовых котлов Ferroli Pegasus
Регулировка температуры в системе отопления:
– Если повернуть рукоятку по часовой стрелке, температура воды в системе отопления повышается, и наоборот.
– Температуру воды в системе отопления можно регулировать в пределах от 30° до 90°. Однако не рекомендуется эксплуатировать котел Ferroli Pegasus D 45 при температуре ниже 45°.
Регулировка температуры воздуха в помещении (с помощью опционного комнатного термостата):
– Задайте с помощью термостата температуры воздуха в помещении нужную температуру внутри помещения.
– При поступлении команды от комнатного термостата котел включается, обеспечивая нагревание воды в системе отопления до температуры, заданной регулирующим термостатом.
– При достижении в помещении желаемой температуры котел Ферроли Пегасус Д 45 выключается.
– При отсутствии комнатного термостата котел обеспечивает поддержание в системе температуры, заданной термостатом регулировки котла.
Регулировка давления воды в системе отопления с закрытым контуром:
– Давление напора при заполнении холодного контура, считанное гидрометром котла, должно составлять приблизительно 1,0 бар.
– Если во время работы давление воды в системе упало (из-за испарения растворенных в воде газов) до величины ниже вышеуказанного минимума, пользователь должен открыть кран подачи воды (в поставку не входит) и довести давление до первоначального значения.
– По окончанию операции всегда закрывайте кран подачи воды.
___________________________________________________________________________
___________________________________________________________________________
___________________________________________________________________________
___________________________________________________________________________
___________________________________________________________________________
___________________________________________________________________________
wssm.ru
| Тип отопительного котла | газовый |
| Число контуров | одноконтурный |
| Минимальная мощность обогрева | 17.2 кВт |
| Максимальная мощность обогрева | 45 кВт |
| КПД | 90.9 % |
| Способ установки | напольный |
| Тип горелки | газовая |
| Камера сгорания | открытая |
| Энергонезависимый | Нет |
| Автоподжиг | Есть |
| Модуляция пламени | Нет |
| Бункер в комплекте | Нет |
| Встроенный бойлер | Нет |
| Подключение теплого пола | Нет |
| Нагнетательный вентилятор | Нет |
| Вытяжной вентилятор | Нет |
| Минимальная температура горячей воды | 30 °С |
| Минимальная тепловая нагрузка | 19.7 кВт |
| Номинальное давление газа на входе | 20 мБар |
| Тип газового котла | конвекционный |
| Материал первичного теплообменника | чугун |
| Варочная панель | Нет |
| Циркуляционный насос | Нет |
| Максимальная тепловая нагрузка | 49.5 кВт |
| Расширительный бак | Нет |
| Допустимое давление сжиженного газа | 37 мБар |
| Битермический теплообменник | Нет |
| Максимальное давление в контуре отопления | 4 бар |
| Напряжение сети | однофазное |
| Максимальная температура горячей воды | 90 °С |
| Датчик уличной температуры | Нет |
| Термометр | Есть |
| Комнатный термостат | Нет |
| Автодиагностика | Нет |
| Пульт ДУ | |
| Дисплей | Нет |
| Разъем для подключения внешнего управления | Есть |
| Индикация нагрева | Нет |
| Управление системой солнечных коллекторов | Нет |
| Манометр | Есть |
| Управление | механическое |
| Индикация включения | Нет |
| Программатор | Нет |
naobzorah.ru
Ferroli Pegasus 56 кВт напольный газовый котел Ферроли Пегасус
Ferroli Pegasus 56 кВт напольный газовый котел с естественной тягой для отопления помещений площадью до 500 м². Оснащен открытой камерой сгорания, чугунным теплообменником, электронным розжигом, системой контроля горения на базе ионизационного электрода. Насос и расширительный бак в комплектацию не входит.
Отличительные особенности газового котла Ферроли Пегасус 56 :
Высокая производительность и эффективность;
Прочный чугунный корпус (G20), изолированный слоем минеральной ваты, укрепленной алюминиевой пленкой;
Инжекционная горелка с головками из нержавеющей стали AISI 304, электрический розжиг без запальника с устройством безопасности, контролирующим ток ионизации, вырабатываемый пламенем;
Стальной корпус окрашен в белый цвет методом напыления эпоксидного порошка;
Безопасность эксплуатации достигается благодаря использованию отсекающего клапана, управляющего 2-мя термостатами, которые отвечают за контроль и безопасность;
Преимущества котла Ferroli Pegasus 56 кВт :
Чугунный теплообменник, изолированный слоем минеральной ваты, экранированной алюминиевой фольгой;
Геометрия топки и дымовых каналов обеспечивает тихую и эффективную работу;
Инжекционная горелка из нержавеющей стали AISI 304;
Электрический розжиг без запальника с системой контроля горения на базе ионизационного электрода;
Контроль безопасности за счет отсекающего клапана с двумя термостатами;
Система контроля температуры;
Термостат защиты от перегрева;
Возможность объединения в каскадную систему при помощи электронного блока каскадного регулирования;
Возможность подключения устройства дистанционного управления Romeo;
Возможность подключения устройства комнатного программатора Oscar;
Возможность подключения внешнего накопительного бойлера BF.
www.teplosvarka.ru
| Тип отопительного котла | газовый |
| Число контуров | одноконтурный |
| Минимальная мощность обогрева | 8.8 кВт |
| Максимальная мощность обогрева | 25 кВт |
| КПД | 90.9 % |
| Способ установки | напольный |
| Тип горелки | газовая |
| Камера сгорания | открытая |
| Энергонезависимый | Есть |
| Автоподжиг | Нет |
| Модуляция пламени | Нет |
| Бункер в комплекте | Нет |
| Встроенный бойлер | Нет |
| Подключение теплого пола | Нет |
| Нагнетательный вентилятор | Нет |
| Вытяжной вентилятор | Нет |
| Максимальное давление в контуре отопления | 6 бар |
| Номинальное давление газа на входе | 20 мБар |
| Варочная панель | Нет |
| Максимальная тепловая нагрузка | 27.5 кВт |
| Тип газового котла | конвекционный |
| Минимальная тепловая нагрузка | 10.1 кВт |
| Материал первичного теплообменника | чугун |
| Минимальная температура горячей воды | 30 °С |
| Максимальная температура горячей воды | 95 °С |
| Циркуляционный насос | Нет |
| Расширительный бак | Нет |
| Допустимое давление сжиженного газа | 37 мБар |
| Битермический теплообменник | Нет |
naobzorah.ru
| Тип отопительного котла | газовый |
| Число контуров | одноконтурный |
| Минимальная мощность обогрева | 13 кВт |
| Максимальная мощность обогрева | 32 кВт |
| КПД | 91.7 % |
| Способ установки | напольный |
| Тип горелки | газовая |
| Камера сгорания | открытая |
| Энергонезависимый | Нет |
| Автоподжиг | Есть |
| Модуляция пламени | Есть |
| Бункер в комплекте | Нет |
| Встроенный бойлер | Нет |
| Подключение теплого пола | Есть |
| Нагнетательный вентилятор | Нет |
| Вытяжной вентилятор | Нет |
| Расширительный бак | Есть |
| Тип газового котла | конвекционный |
| Напряжение сети | однофазное |
| Максимальная тепловая нагрузка | 34.9 кВт |
| Циркуляционный насос | Есть |
| Номинальное давление природного газа (мин.) | 4 мБар |
| Материал первичного теплообменника | чугун |
| Максимальная температура горячей воды | 80 °С |
| Минимальная тепловая нагрузка | 14.9 кВт |
| Варочная панель | Нет |
| Максимальное давление в контуре отопления | 6 бар |
| Номинальное давление газа на входе | 20 мБар |
| Битермический теплообменник | Нет |
| Емкость расширительного бака | 12 л |
| Минимальная температура горячей воды | 30 °С |
| Индикация нагрева | Есть |
| Управление | электронное |
| Датчик уличной температуры | Нет |
| Пульт ДУ | Нет |
| Индикация включения | Есть |
| Программатор | Нет |
| Дисплей | Есть |
| Термометр | Есть |
| Манометр | Есть |
| Автодиагностика | Есть |
| Управление системой солнечных коллекторов | Нет |
| Разъем для подключения внешнего управления | Есть |
| Комнатный термостат | Нет |
naobzorah.ru
Напольный газовый котел Ferroli Pegasus F3 N 2S 221 кВт с атмосферной горелкой
Напольный газовый котел Ferroli Pegasus F3 N 2S 221 с атмосферной горелкой, идеален для надежной системы отопления, изготовлен по последним разработкам с применением новейших технологий. Чугунный напольный котел Ферроли ПЕГАСУС F3 N 2S представляет собой высокоэффективный теплогенератор, с самой совершенной и безопасной системой управления, работает на сниженном или природном газе. Состоит из чугунных теплообменных секций, обеспечивающих высокую эффективность при любых условиях эксплуатации, и атмосферной горелки, оборудованной электророзжигом с ионизационным контролем пламени. Котел оборудован автоматическим воздушником, двух уровневым термостатом и предохранительным термостатом. Благодаря электрическому розжигу и системе контроля пламени, котел работает автоматически и практически не требует вмешательство человека (для этого нужно всего один раз установить требуемую температуру).
Преимущества газового котла Ferroli Pegasus F 3 N 2 S 221 кВт
Чугунный теплообменник изолирован мин. ватой и алюминиевой фольгой
Конструкция топки и дымовых каналов обеспечивает бесшумную работу
Горелка инжекционная из нержавеющей стали AISI 304
Регулируется 2-х уровневым термостатом
Контроль безопасности за счет отсекающегося клапана с двумя термостатами
Система контроля температуры, термостат защиты от перегрева
Возможность объединения в каскадную систему
Возможность подключения устройства дистанционного управления Romeo
Возможность подключения устройства комнатного программатора Oscar
Возможность подключения внешнего накопительного бойлера BF
Технические характеристики котла Ферроли ПЕГАСУС F3 N 2S 221
Полезная мощность макс./мин. 221/133 кВт
КПД при нагрузке 30% от номинальной мощности 92 %
Расход природного/сжиженного газа при номинальной мощности 25.7 нм3/ч
Расход природного/сжиженного газа при номинальной мощности 19 кг/ч
Температура в контуре отопления макс./мин. 90/40 °С
Максимальное давление в контуре отопления 6 бар
Диаметр дымохода 300 мм
Напряжение/частота тока 230/50 В/Гц
Потребляемая мощность электроэнергии 60 Вт
Высота 1050 мм
Ширина 1440 мм
Глубина 1050 мм
Вес 760 кг
www.teplosvarka.ru
| Тип отопительного котла | газовый |
| Число контуров | одноконтурный |
| Минимальная мощность обогрева | 21.6 кВт |
| Максимальная мощность обогрева | 56 кВт |
| КПД | 90.9 % |
| Способ установки | напольный |
| Тип горелки | газовая |
| Камера сгорания | открытая |
| Энергонезависимый | Нет |
| Автоподжиг | Есть |
| Модуляция пламени | Нет |
| Бункер в комплекте | Нет |
| Встроенный бойлер | Нет |
| Подключение теплого пола | Нет |
| Нагнетательный вентилятор | Нет |
| Вытяжной вентилятор | Нет |
| Битермический теплообменник | Нет |
| Номинальное давление газа на входе | 20 мБар |
| Максимальная температура горячей воды | 90 °С |
| Минимальная тепловая нагрузка | 24.5 кВт |
| Максимальное давление в контуре отопления | 4 бар |
| Материал первичного теплообменника | чугун |
| Допустимое давление сжиженного газа | 37 мБар |
| Варочная панель | Нет |
| Циркуляционный насос | Нет |
| Минимальная температура горячей воды | 30 °С |
| Тип газового котла | конвекционный |
| Расширительный бак | Нет |
| Максимальная тепловая нагрузка | 61.6 кВт |
| Напряжение сети | однофазное |
| Разъем для подключения внешнего управления | Есть |
| Управление | механическое |
| Манометр | Есть |
| Пульт ДУ | Нет |
| Управление системой солнечных коллекторов | Нет |
| Автодиагностика | Нет |
| Индикация нагрева | Нет |
| Программатор | Нет |
| Дисплей | Нет |
| Индикация включения | Нет |
| Датчик уличной температуры | Нет |
| Термометр | Есть |
| Комнатный термостат | Нет |
naobzorah.ru